lemon-mirror:
Home >> Chrysler >> 2003 >> Intrepid SXT >> Repair and Diagnosis >> Steering >> Steering Control Systems >> Body Diagnostic Procedures >> Schematic Diagram >> Interior Lighting

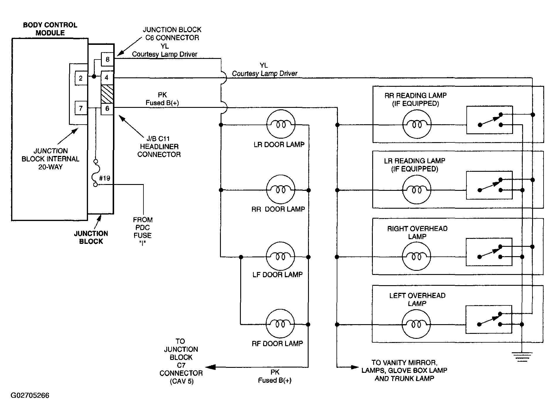
Interior Lighting

Fig 1: Schematic Diagrams - Interior Lighting (1 Of 2)
G02705266Courtesy of DAIMLERCHRYSLER CORP.
Fig 2: Schematic Diagrams - Interior Lighting (2 Of 2)
G02705267Courtesy of DAIMLERCHRYSLER CORP.