lemon-mirror:
Home >> Chrysler >> 2004 >> Crossfire Automatic >> Repair and Diagnosis >> Engine Performance >> Ignition System >> Spark Plug >> Description - Platinum Plugs

Description - Platinum Plugs

The engine uses platinum tip resistor spark plugs. They have resistance values of 6,000 to 20,000 ohms when checked with at least a 1000 volt tester. For spark plug identification and specifications, refer to SPECIFICATIONS .

Do not use an ohmmeter to check the resistance of the spark plugs. This will give an inaccurate reading  .

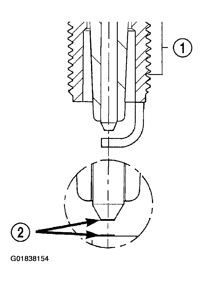
Spark plugs using either a single or double platinum tips have a recommended service life of 100,000 miles for normal driving conditions. The spark plugs have a recommended service life of 75,000 miles for severe driving conditions. A thin platinum pad is welded to both or just the center electrode (2) end(s). Extreme care must be used to prevent spark plug cross threading, mis-gapping and ceramic insulator damage during plug removal and installation.

CAUTION: Cleaning of the platinum plug may damage the platinum tip.
Fig 1: Identifying Platinum Plug Tip
G01838154Courtesy of DAIMLERCHRYSLER CORP.