lemon-mirror:
Home >> Chrysler >> 2004 >> Crossfire Automatic >> Repair and Diagnosis >> Engine Performance >> System >> Engine Controls - Electrical Diagnostics >> Circuit Tests >> Cooling Fan Control Circuit Open >> Diagnostic Test >> 1. Radiator Fan Control Module

1. Radiator Fan Control Module

WARNING: WHILE MONITORING ENGINE COOLANT TEMPERATURE WITH THE DRB III(R), DO NOT ALLOW THE ENGINE COOLANT TEMPERATURE TO RISE ABOVE 102°C (215°F) WITH THE RADIATOR FAN CONTROL MODULE DISCONNECTED.
NOTE: If an Engine Coolant Temperature (ECT) Sensor fault has been set, diagnose the Engine Coolant Temperature Sensor faults before continuing.

Turn the ignition off.

Disconnect the PCM C4 harness connector.

NOTE: Check connectors - Clean/repair as necessary.

Turn the ignition on.

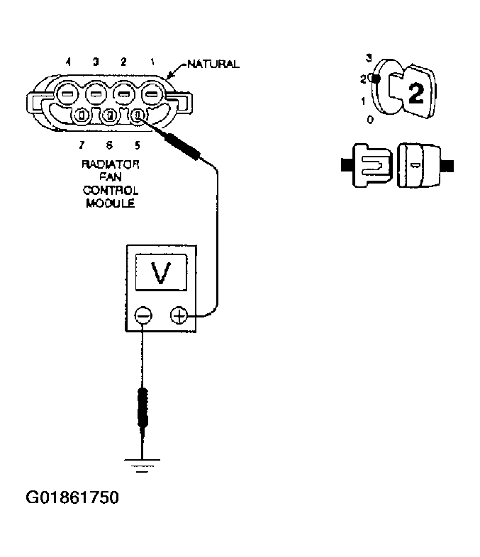
Measure the voltage of the Radiator Fan Control circuit at the Radiator Fan Control Module harness connector.

Fig 1: Measuring Voltage Of Radiator Fan Control Circuit
G01861750Courtesy of DAIMLERCHRYSLER CORP.

Is the voltage above 10 volts? 

  1. Yes  >> 2
  2. No  >> Replace the Radiator Fan Control Module. See COOLING SYSTEM (MECHANICAL) article.

    See POWERTRAIN VERIFICATION TEST - VER 2  .