lemon-mirror:
Home >> Chrysler >> 2005 >> Crossfire Base, 2D Convertible >> Repair and Diagnosis >> Electrical >> Body Electrical >> Connector End Views >> Connector Pin-Outs >> Illumination Control Module B Connector End View

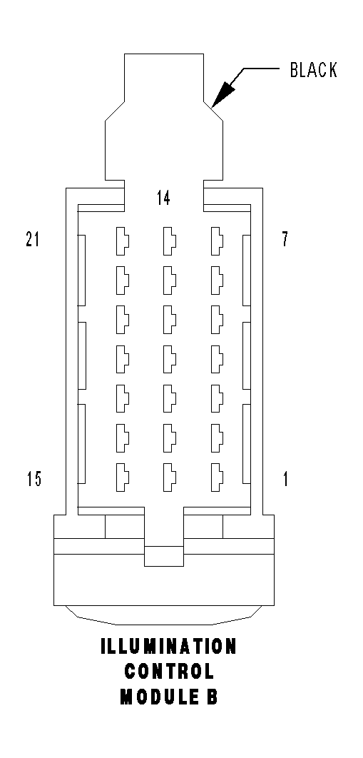
Illumination Control Module B Connector End View

ILLUMINATION CONTROL MODULE B - BLACK 21 WAY

GCZH580129Courtesy of DAIMLERCHRYSLER CORP.
CAV CIRCUIT FUNCTION
1 - -
2 - -
3 16YL FUSED LOW BEAM OUTPUT
4 16WT (LHD) FUSED HIGH BEAM OUTPUT
4 16YL/BK (RHD) FUSED LOW BEAM OUTPUT
5 16YL/BK (LHD) FUSED LOW BEAM OUTPUT
5 18GY/RD (RHD) FUSED ILLUMINATION CONTROL MODULE OUTPUT
6 16WT/BK (LHD) FUSED HIGH BEAM OUTPUT
6 18GY/YL (RHD) FUSED FOG LAMP OUTPUT
7 18GY/RD (LHD) FUSED ILLUMINATION CONTROL MODULE OUTPUT
7 18GY/YL (RHD) FUSED FOG LAMP OUTPUT
8 - -
9 - -
10 - -
11 - -
12 - -
13 - -
14 18DG (EXCEPT EXPORT) FUSED ILLUMINATION CONTROL MODULE OUTPUT
15 - -
16 - -
17 - -
18 18DG/WT (EXCEPT EXPORT) FUSED ILLUMINATION CONTROL MODULE OUTPUT
19 18GY/BK (LHD) FUSED ILLUMINATION CONTROL MODULE OUTPUT
19 16WT (RHD) FUSED HIGH BEAM OUTPUT
20 18GY/YL (LHD) FUSED FOG LAMP OUTPUT
20 18GY/BK (RHD) FUSED ILLUMINATION CONTROL MODULE OUTPUT
21 18GY/YL (LHD) FUSED FOG LAMP OUTPUT
21 16WT/BK (RHD) FUSED HIGH BEAM OUTPUT