lemon-mirror:
Home >> Chrysler >> 2005 >> Crossfire Base, 2D Convertible >> Repair and Diagnosis >> Engine Performance >> Fuel Delivery >> Fuel System >> Fuel Injection >> Fuel Injector >> Operation

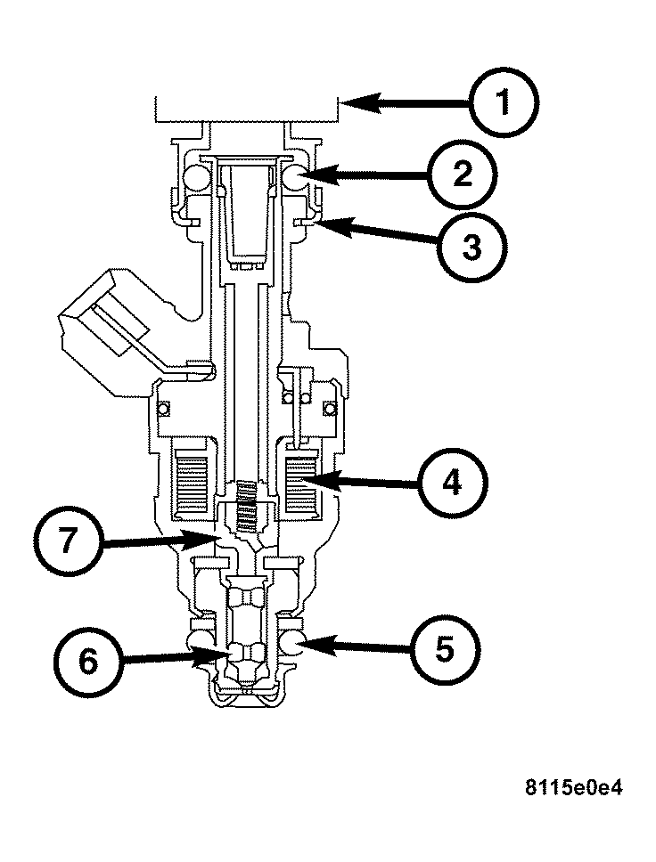
Fuel Injector: Operation

Fig 1: Identifying Fuel Injector Components
GC0032341Courtesy of DAIMLERCHRYSLER CORP.

The Fuel Injector incorporates the following components:

The Fuel Injectors are 12 volt electrical solenoids. The injector contains a pintle that closes off an orifice at the nozzle end. When electric current is supplied to the injector, the armature and needle move a short distance against a spring, allowing fuel to flow out the orifice. Because the fuel is under high pressure, a fine spray is developed in the shape of a hollow cone or two streams. The spraying action atomizes the fuel, adding it to the air entering the combustion chamber.

The Engine Control Relay which is contained in the Relay Control Module provides battery voltage to each injector. Injector operation is controlled by a ground path provided for each injector by the PCM. Injector on-time (pulse-width) is variable, and is determined by the PCM processing all the data previously discussed to obtain the optimum injector pulse width for each operating condition. The pulse width is controlled by the duration of the ground path provided.