lemon-mirror:
Home >> Chrysler >> 2005 >> Crossfire Base, 2D Convertible >> Repair and Diagnosis >> Engine Performance >> Ignition System >> Ignition System (Service Information) >> Spark Plug >> Description

Spark Plug: Description

Fig 1: View Of Platinum Tip Resistor Spark Plugs
GC0035100Courtesy of DAIMLERCHRYSLER CORP.

The engine uses platinum tip resistor spark plugs. Platinum-tip spark plugs allow 100,000-mile (161,000-km) replacement intervals in normal service. They have resistance values of 6,000 to 20,000 ohms when checked with at least a 1000 volt tester. For spark plug identification and specifications, (Refer to ELECTRICAL/IGNITION CONTROL - SPECIFICATIONS) .

Do not use an ohm meter to check the resistance of the spark plugs. This will give an inaccurate reading. 

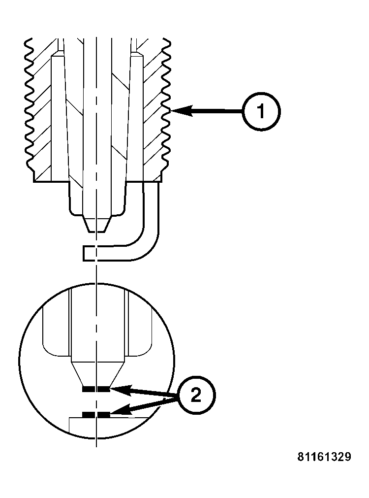
Fig 2: Identifying Center Electrode And Spark Plug Cross Threads
GC0035096Courtesy of DAIMLERCHRYSLER CORP.

Spark plugs using either a single or double platinum tips have a recommended service life of 100,000 miles for normal driving conditions per schedule A in this information. The spark plugs have a recommended service life of 75,000 miles for severe driving conditions. A thin platinum pad is welded to both or just the center electrode (2) end(s). Extreme care must be used to prevent spark plug cross threading, incorrect gapping, and ceramic insulator damage during plug removal and installation.

CAUTION: Cleaning of the platinum plug may damage the platinum tip.