lemon-mirror:
Home >> Chrysler >> 2006 >> Crossfire Base, 2D Convertible >> Repair and Diagnosis >> Electrical >> Body Electrical >> Connector End Views >> Connector Pin-Outs >> A/C Heater Control Module Connector End View

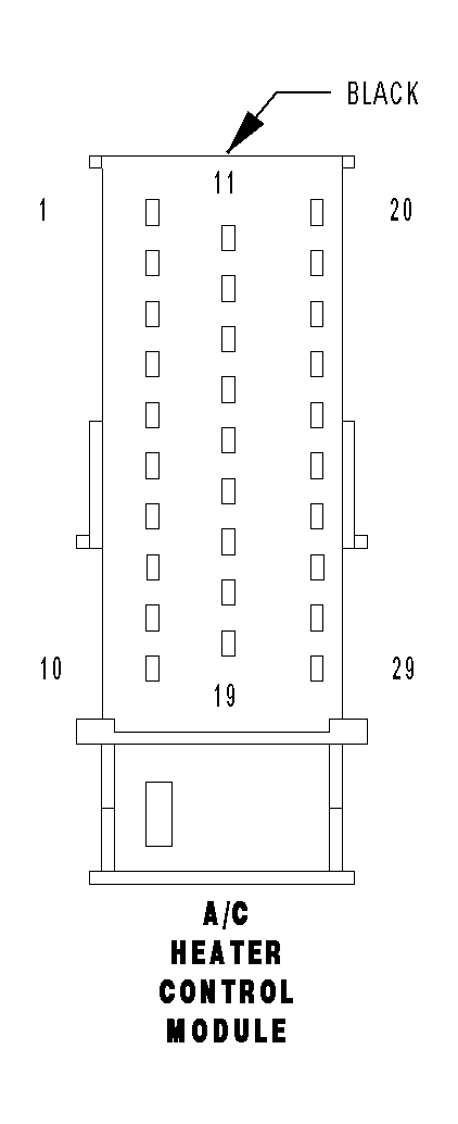
A/C Heater Control Module Connector End View

A/C HEATER CONTROL MODULE - BLACK 29 WAY

GCZH680002Courtesy of DAIMLERCHRYSLER CORP.
CAV CIRCUIT FUNCTION
1 18RD/YL FUSED B(+)
2 - -
3 22BR/YL SENSOR GROUND
4 22DG/BK REAR DEFOGGER INDICATOR DRIVER
5 22BK/WT SERIAL COMMUNICATION K2
6 - -
7 20WT/PK BLOWER MOTOR CONTROL
8 20BR/DG COOLANT CIRCULATION PUMP CONTROL
9 20BR/VT LEFT COOLANT CIRCULATION VALVE CONTROL
10 20BR/RD RIGHT COOLANT CIRCULATION VALVE CONTROL
11 - -
12 16BR GROUND
13 22DG/BL REAR DEFOGGER SWITCH SENSE
14 22RD/WT A/C PRESSURE SENSOR 5 VOLT SUPPLY
15 - -
16 18BR/YL RECIRCULATED AIR SWITCHOVER VALVE CONTROL
17 22BK/BL SCI TRANSMIT
18 22YL/VT SERIAL COMMUNICATION K1
19 - -
20 18BL/DG A/C COMPRESSOR CLUTCH CONTROL
21 18PK/RD/BL FUSED IGNITION SWITCH OUTPUT
22 20BK/DG FUSED IGNITION SWITCH OUTPUT
23 - -
24 22GY/RD EVAPORATOR TEMPERATURE SENSOR SIGNAL
25 22GY/DG RIGHT HEATER CORE TEMPERATURE SENSOR SIGNAL
26 22GY/PK LEFT HEATER CORE TEMPERATURE SENSOR SIGNAL
27 22BL/RD A/C PRESSURE SENSOR SIGNAL
28 - -
29 - -