lemon-mirror:
Home >> Chrysler >> 2007 >> 300 Base >> Repair and Diagnosis >> Engine Mechanical >> Fuel System >> Fuel Delivery >> Quick Connect Fitting >> Standard Procedure >> Installation

Standard Procedure: Installation

CAUTION: Make sure that the o-ring in installed in fitting. Never install a quick-connect fitting without the retainer being either on the fuel tube or already in the quick-connect fitting. In either case, ensure the retainer locks securely into the quick-connect fitting by firmly push-pulling-push on fuel tube and fitting to ensure it is secured.
  1. Using a clean lint free cloth, clean the fuel tube nipple and retainer.
  2. Prior to connecting the fitting to the fuel tube, coat the fuel tube nipple with clean engine oil.
  3. Push the quick-connect fitting over the fuel tube until the retainer seats and a click is heard. 
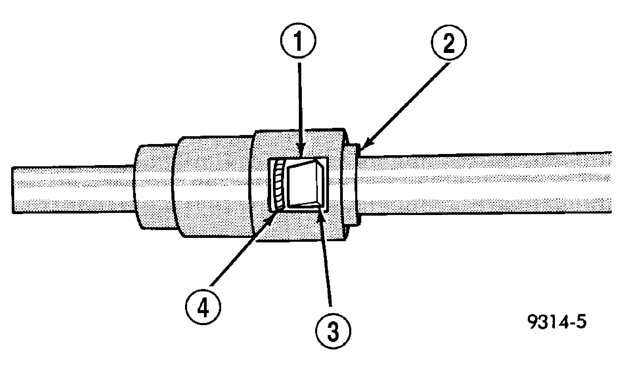
  4. The plastic quick-connect fitting has windows in the sides of the casing. When the fitting completely attaches to the fuel tube, the retainer locking ears and the fuel tube shoulder are visible in the windows. If they are not visible, the retainer was not properly installed. See Fig 1. Do not rely upon the audible click to confirm a secure connection. 
    Fig 1: Plastic Quick-Connect Fitting/Fuel Tube Connection
    GC0013114Courtesy of CHRYSLER LLC
    1 - WINDOW
    2 - TAB (2)
    3 - EAR
    4 - SHOULDER (ON TUBE)
  5. Connect negative cable to battery or auxiliary jumper terminal.
    CAUTION: When using the ASD Fuel System Test, the Auto Shutdown (ASD) Relay remains energized for several minutes, until the test is stopped, or until the ignition switch is turned to the Off position.
  6. Use the DRB III® scan tool ASD Fuel System Test to pressurize the fuel system. Check for leaks.