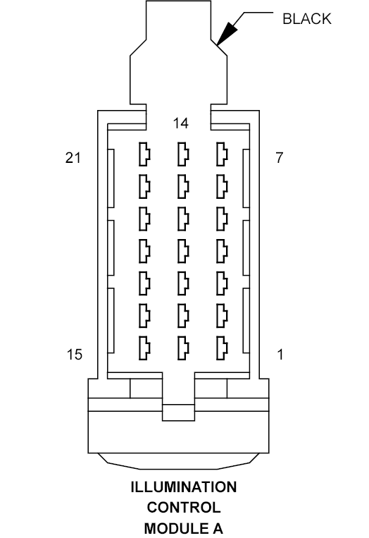
Illumination Control Module A Connector End View
ILLUMINATION CONTROL MODULE A - BLACK 21-WAY
| CAV | CIRCUIT | FUNCTION |
| 1 | 20GY/YL | SHIFT LEVER ASSEMBLY REVERSE SUPPLY VOLTAGE (LHD A/T) |
| 1 | 20GY/YL | BACKUP LAMP SWITCH OUTPUT (LHD M/T) |
| 1 | 18RD/WT | FUSED IGNITION SWITCH OUTPUT (RHD) |
| 2 | 18BK/RD | BRAKE LAMP RELAY OUTPUT (LHD) |
| 2 | 20GY/YL | BACKUP LAMP SWITCH OUTPUT (RHD M/T) |
| 3 | 18GY/YL | SHIFT LEVER ASSEMBLY REVERSE SUPPLY VOLTAGE (LHD A/T) |
| 3 | 18GY/YL | BACKUP LAMP SWITCH OUTPUT (LHD M/T) |
| 4 | 18GY/YL | SHIFT LEVER ASSEMBLY REVERSE SUPPLY VOLTAGE (LHD A/T) |
| 4 | 18GY/YL | BACKUP LAMP SWITCH OUTPUT (LHD M/T) |
| 4 | 20PK/RD | FUSED IGNITION SWITCH OUTPUT (RHD) |
| 5 | 20BK/BL | BRAKE LAMP RELAY OUTPUT (LHD) |
| 6 | 18BK/YL | BRAKE LAMP RELAY OUTPUT (LHD) |
| 6 | 18GY/DG | FUSED ILLUMINATION CONTROL MODULE OUTPUT (RHD) |
| 7 | 18BK/RD | BRAKE LAMP RELAY OUTPUT (LHD) |
| 8 | 14YL/BK | FOG LAMP SWITCH OUTPUT |
| 9 | 20GY/YL | SHIFT LEVER ASSEMBLY REVERSE SUPPLY VOLTAGE (RHD A/T) |
| 9 | 20GY/YL | BACKUP LAMP SWITCH OUTPUT (RHD M/T) |
| 10 | 18DG/WT | FUSED ILLUMINATION CONTROL MODULE OUTPUT (LHD) |
| 10 | 18BK/RD | BRAKE LAMP RELAY OUTPUT (RHD) |
| 11 | 18GY/RD | FUSED RIGHT STANDING/PARK LAMPS OUTPUT (LHD) |
| 11 | 18BK/RD | BRAKE LAMP RELAY OUTPUT (RHD) |
| 12 | 18GY/VT | FUSED ILLUMINATION CONTROL MODULE OUTPUT |
| 13 | 18GY/YL | FUSED ILLUMINATION CONTROL MODULE OUTPUT |
| 14 | 18GY/DG | REAR FOG LAMP SWITCH OUTPUT (LHD EXPORT) |
| 14 | 18GY/BK | FUSED LEFT STANDING/PARK LAMPS OUTPUT (RHD) |
| 15 | 20PK/RD | FUSED IGNITION SWITCH OUTPUT (LHD) |
| 16 | 18RD/WT | FUSED IGNITION SWITCH OUTPUT (LHD) |
| 16 | 18GY/YL | SHIFT LEVER ASSEMBLY REVERSE SUPPLY VOLTAGE (RHD A/T) |
| 16 | 18GY/YL | BACKUP LAMP SWITCH OUTPUT (RHD M/T) |
| 17 | - | - |
| 18 | 18GY/BK | FUSED LEFT STANDING/PARK LAMPS OUTPUT (LHD) |
| 18 | 18DG/WT | FUSED ILLUMINATION CONTROL MODULE OUTPUT (RHD) |
| 19 | 18BL/BR | FUSED LEFT STANDING/PARK LAMPS OUTPUT (LHD) |
| 19 | 20BK/BL | BRAKE LAMP RELAY OUTPUT (RHD) |
| 20 | 18BK/YL | BRAKE LAMP RELAY OUTPUT (RHD) |
| 21 | 18BK/VT | FUSED RIGHT STANDING/PARK LAMPS OUTPUT (LHD) |
| 21 | 18GY/RD | FUSED RIGHT STANDING/PARK LAMPS OUTPUT (RHD) |