lemon-mirror:
Home >> Chrysler >> 2007 >> Crossfire Base, 2D Convertible >> Repair and Diagnosis >> Engine Performance >> System >> DTCS P0480 To P0702 >> P0480-Cooling Fan Control Circuit >> Notes

P0480-Cooling Fan Control Circuit: Notes

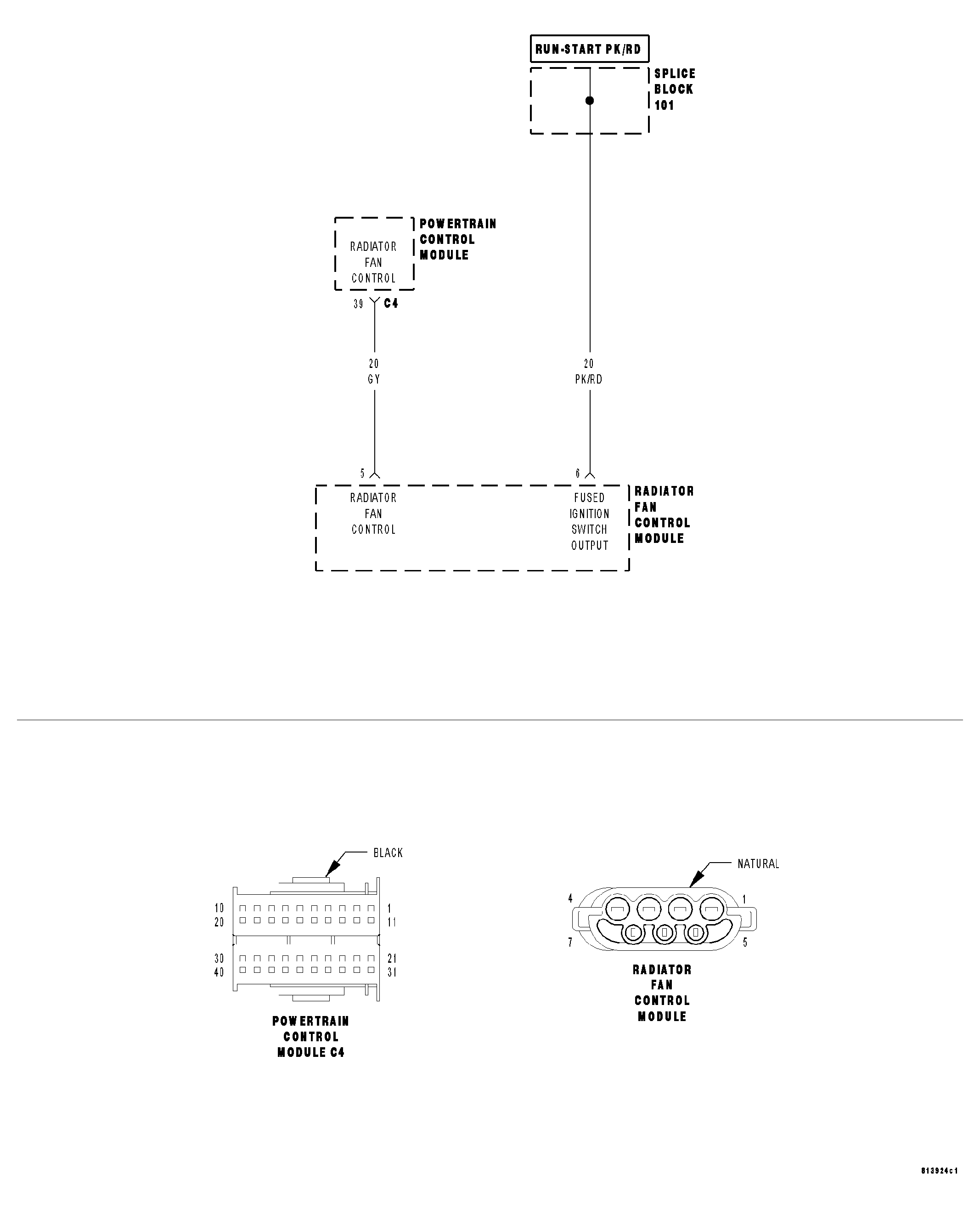
Fig 1: Radiator Fan Control Circuit Schematic
GC0034291Courtesy of CHRYSLER LLC
  1. When Monitored  : With the engine running.
  2. Set Condition  : When Engine Coolant temperature is less than 70°C (158°F) and the Powertrain Control Module (PCM) senses voltage greater than 2.5 volts on the Radiator Fan Control circuit or less than 2.0 volts above 85°C (185°F).
Possible Causes 
FUSED IGNITION SWITCH OUTPUT CIRCUIT OPEN
RADIATOR FAN CONTROL CIRCUIT OPEN
RADIATOR FAN CONTROL CIRCUIT SHORT TO GROUND
RADIATOR FAN CONTROL CIRCUIT SHORT TO VOLTAGE
RADIATOR FAN CONTROL MODULE
POWERTRAIN CONTROL MODULE

For a complete Powertrain Control Module Circuit Diagram, refer to SCHEMATICS AND DIAGRAMS .