lemon-mirror:
Home >> Chrysler >> 2007 >> PT Cruiser Base, 2D Convertible, Automatic >> Repair and Diagnosis >> Engine Performance >> System >> DTCS P0129 To P0339 >> P0135-O2 Sensor 1/1 Heater Performance >> Diagnostic Test

Diagnostic Test

  1. 1) O2 SENSOR HEATER OPERATION 
    NOTE: The DTC must not be active for the actuator test to operate properly, clear all DTC before continuing.

    Turn the ignition off.

    NOTE: Wait a minimum of 8 minutes to allow the O2 Sensor to cool down before continuing the test. Allow the O2 Sensor voltage to stabilize between 4.6 and 5.0 volts.

    Ignition on, engine not running.

    With a scan tool, actuate the O2 Heater Test.

    With the scan tool, monitor 1/1 O2 Sensor voltage for at least 2 minutes.

    Does the voltage stay above 4.5 volts? 

    Yes 

    1. Go to  2).

    No 

    1. Refer to the INTERMITTENT CONDITION Diagnostic Procedure.
    2. Perform POWERTRAIN VERIFICATION TEST .
  2. 2) O2 SENSOR HEATER ELEMENT 

    Turn the ignition off.

    NOTE: Allow the O2 sensor to cool down to room temperature.

    Disconnect the O2 Sensor harness connector.

    Measure the resistance of the O2 Heater Element across the 1/1 O2 Sensor connector between the O2 Heater Control terminal and the Heater ground terminal.

    NOTE: O2 Heater Element resistance values should be measured at 70°F (21.1°C). The resistance value will vary with different temperature values.

    Is the resistance of the O2 Sensor Heater Element between 2.0 and 30.0 ohms? 

    Yes 

    1. Go to  3).

    No 

    1. Replace the O2 Sensor.
    2. Perform POWERTRAIN VERIFICATION TEST .
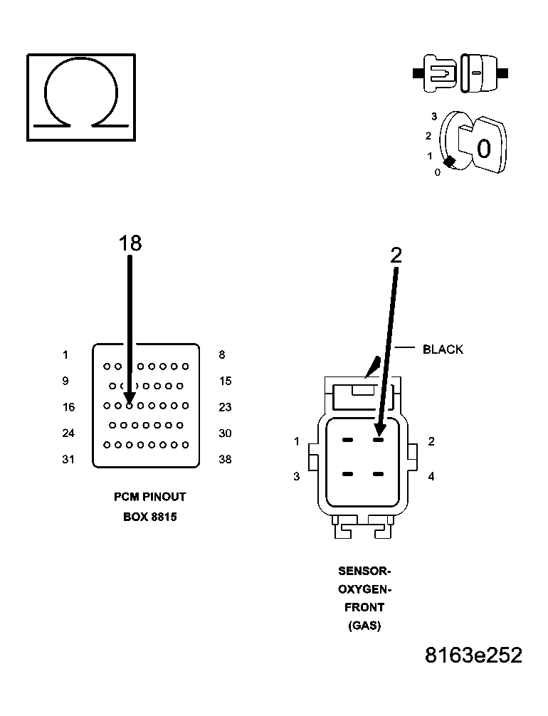
  3. 3) (K99) O2 1/1 HEATER CONTROL CIRCUIT OPEN  
    Fig 1: Measuring Resistance Of O2 Heater Control Circuit
    GC0041524Courtesy of CHRYSLER LLC

    Disconnect the PCM harness connectors.

    CAUTION: Do not probe the PCM harness connectors. Probing the PCM harness connectors will damage the PCM terminals resulting in poor terminal to pin connection. Install Miller Special Tool #8815 to perform diagnosis.

    Measure the resistance of the (K99) O2 1/1 Heater Control circuit from the O2 harness connector to the appropriate terminal of special tool #8815.

    Is the resistance below 0.5 of an ohm? 

    Yes 

    1. Go to  4).

    No 

    1. Repair the excessive resistance in the (K99) O2 1/1 Heater Control circuit.
    2. Perform POWERTRAIN VERIFICATION TEST .
  4. 4) (Z902) O2 1/1 HEATER GROUND CIRCUIT OPEN 
    Fig 2: Measuring Resistance Between Ground & O2 1/1 Heater Ground Circuit
    GC0041522Courtesy of CHRYSLER LLC

    Measure the resistance between ground and the (Z902) O2 1/1Heater ground circuit in the O2 Sensor harness connector.

    Is the resistance below 0.5 of an ohm? 

    Yes 

    1. Go to  5).

    No 

    1. Repair the excessive resistance in the (Z902) O2 1/1 Heater ground circuit.
    2. Perform POWERTRAIN VERIFICATION TEST .
  5. 5) PCM 
    NOTE: Before continuing, check the PCM harness connector terminals for corrosion, damage or terminal push out. Repair as necessary.

    Using the schematics as a guide, inspect the wire harness and connectors. Pay particular attention to all Power and Ground circuits.

    Were there any problems found? 

    Yes 

    1. Repair as necessary.
    2. Perform POWERTRAIN VERIFICATION TEST .

    No 

    1. Replace and program the Powertrain Control Module per Service Information.
    2. Perform POWERTRAIN VERIFICATION TEST .