lemon-mirror:
Home >> Chrysler >> 2007 >> Sebring Base, 2.4 K >> Repair and Diagnosis >> Electrical >> Component Locations >> Electrical Component Locator >> Component Location Graphics

Component Location Graphics

NOTE: Figures may show multiple component locations. Refer to appropriate table for proper figure references.
Fig 1: Right Front Of Engine Compartment
G00450177Courtesy of DAIMLERCHRYSLER CORP.
Fig 2: Left Front Of Engine Compartment
G00450178Courtesy of DAIMLERCHRYSLER CORP.
Fig 3: Left Front Of Engine Compartment
G00450179Courtesy of DAIMLERCHRYSLER CORP.
Fig 4: Right Front Of Engine Compartment
G00450180Courtesy of DAIMLERCHRYSLER CORP.
Fig 5: Right Front Of Engine Compartment
G00450181Courtesy of DAIMLERCHRYSLER CORP.
Fig 6: Right Side Of Engine Compartment
G00450182Courtesy of DAIMLERCHRYSLER CORP.
Fig 7: Left Side Of Engine Compartment
G00450184Courtesy of DAIMLERCHRYSLER CORP.
Fig 8: Left Front Of Engine Compartment
G00450185Courtesy of DAIMLERCHRYSLER CORP.
Fig 9: Left Rear Of Engine Compartment (2.4L)
G00450186Courtesy of DAIMLERCHRYSLER CORP.
Fig 10: Left Rear Of Engine Compartment (3.5L)
G00450187Courtesy of DAIMLERCHRYSLER CORP.
Fig 11: Left Side Of Engine (2.7L)
G00450188Courtesy of DAIMLERCHRYSLER CORP.
Fig 12: Top Of Engine (2.7L)
G00450189Courtesy of DAIMLERCHRYSLER CORP.
Fig 13: Left Side Of Engine (2.7L)
G00450190Courtesy of DAIMLERCHRYSLER CORP.
Fig 14: Right Front Of Engine (2.7L)
G00450191Courtesy of DAIMLERCHRYSLER CORP.
Fig 15: Left Side Of Engine (3.5L)
G00450192Courtesy of DAIMLERCHRYSLER CORP.
Fig 16: Top Of Engine (3.5L)
G00450193Courtesy of DAIMLERCHRYSLER CORP.
Fig 17: Left Front Of Engine (3.5L)
G00450194Courtesy of DAIMLERCHRYSLER CORP.
Fig 18: Front Of Engine (3.5L)
G00450195Courtesy of DAIMLERCHRYSLER CORP.
Fig 19: Left Side Of Manual Transmission
G00450196Courtesy of DAIMLERCHRYSLER CORP.
Fig 20: Left Side Of Dash
G00450197Courtesy of DAIMLERCHRYSLER CORP.
Fig 21: Left Side Of Dash
G00450198Courtesy of DAIMLERCHRYSLER CORP.
Fig 22: Right Side Of Dash
G00450199Courtesy of DAIMLERCHRYSLER CORP.
Fig 23: Left Side Of Dash
G00450200Courtesy of DAIMLERCHRYSLER CORP.
Fig 24: HVAC Unit
G00450201Courtesy of DAIMLERCHRYSLER CORP.
Fig 25: Steering Wheel
G00450202Courtesy of DAIMLERCHRYSLER CORP.
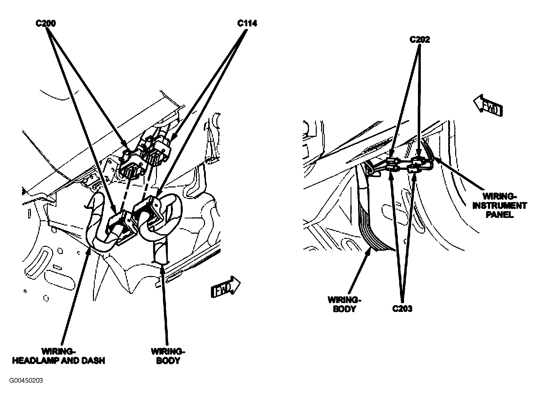
Fig 26: Left/Right End Of Dash
G00450203Courtesy of DAIMLERCHRYSLER CORP.
Fig 27: Under Right Side Of Dash
G00450204Courtesy of DAIMLERCHRYSLER CORP.
Fig 28: Front Center Of Roof & Right "A" Pillar
G00450205Courtesy of DAIMLERCHRYSLER CORP.
Fig 29: Center Console
G00450207Courtesy of DAIMLERCHRYSLER CORP.
Fig 30: Under Center Console
G00450208Courtesy of DAIMLERCHRYSLER CORP.
Fig 31: Left Kick Panel
G00450209Courtesy of DAIMLERCHRYSLER CORP.
Fig 32: Right Kick Panel
G00450210Courtesy of DAIMLERCHRYSLER CORP.
Fig 33: Left "B" Pillar
G00450211Courtesy of DAIMLERCHRYSLER CORP.
Fig 34: Right "B" Pillar
G00450212Courtesy of DAIMLERCHRYSLER CORP.
Fig 35: Left Front Door (Right Similar)
G00450213Courtesy of DAIMLERCHRYSLER CORP.
Fig 36: Right Rear Door (Left Similar)
G00450214Courtesy of DAIMLERCHRYSLER CORP.
Fig 37: Fuel Tank & Left Rear Quarterpanel
G00450215Courtesy of DAIMLERCHRYSLER CORP.
Fig 38: Right Rear Quarterpanel
G00450216Courtesy of DAIMLERCHRYSLER CORP.
Fig 39: Left "C" Pillar
G00450217Courtesy of DAIMLERCHRYSLER CORP.
Fig 40: Left Side Of Trunk
G00450218Courtesy of DAIMLERCHRYSLER CORP.
Fig 41: Left Rear Underbody
G00450219Courtesy of DAIMLERCHRYSLER CORP.
Fig 42: Right Side Of Trunk
G00450220Courtesy of DAIMLERCHRYSLER CORP.
Fig 43: Right Rear Underbody
G00450221Courtesy of DAIMLERCHRYSLER CORP.
Fig 44: Decklid
G00450222Courtesy of DAIMLERCHRYSLER CORP.
Fig 45: Rear Fascia
G00450223Courtesy of DAIMLERCHRYSLER CORP.
Fig 46: Left Side Of Engine (2.4L)
G00450183Courtesy of DAIMLERCHRYSLER CORP.
Fig 47: Top Of Engine (2.4L)
G00450206Courtesy of DAIMLERCHRYSLER CORP.
Fig 48: Engine (2.4L)
G00450227Courtesy of DAIMLERCHRYSLER CORP.
Fig 49: Left Side Of Engine Compartment
G00450225Courtesy of DAIMLERCHRYSLER CORP.
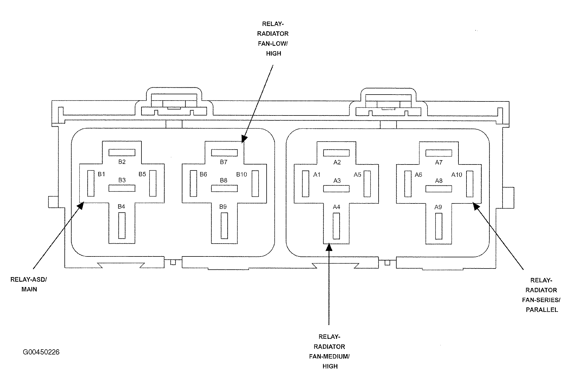
Fig 50: Relay Block
G00450226Courtesy of DAIMLERCHRYSLER CORP.