lemon-mirror:
Home >> Daewoo >> 2000 >> Lanos SE, Automatic >> Repair and Diagnosis >> Engine Performance >> System >> Engine Controls - Self-Diagnostics >> DTC Diagnostic Tests >> DTC P1130: O2 Bank 1 Sensor 1 Low Signal Variance >> Notes

DTC P1130: O2 Bank 1 Sensor 1 Low Signal Variance: Notes

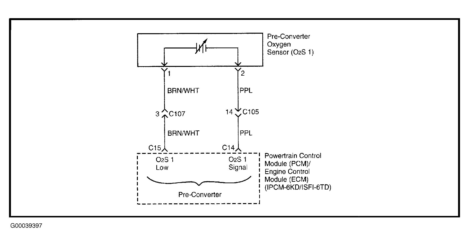
Fig 1: O2 Bank 1 Sensor Circuit Diagram
G00039397Courtesy of DAEWOO