lemon-mirror:
Home >> Daihatsu >> 1992 >> Charade SX >> Repair and Diagnosis >> Engine Performance >> System >> Engine Controls - Basic Testing >> Fuel System >> Fuel System Pressure Test

Fuel System Pressure Test

NOTE: Before testing fuel pressure, check all fuel delivery and return lines for leaks.
  1. Ensure battery is fully charged. Disconnect negative battery cable. Relieve fuel pressure. See FUEL PRESSURE RELIEF  . Remove union bolt and 2 gaskets.
  2. Using new gaskets, install Fuel Pressure Gauge (SST 09268-87701-000) on No. 1 fuel hose of fuel filter. See Fig 1 . Tighten retaining bolt to 25-32 ft. lbs. (34-43 N.m). Wipe off excess gasoline.
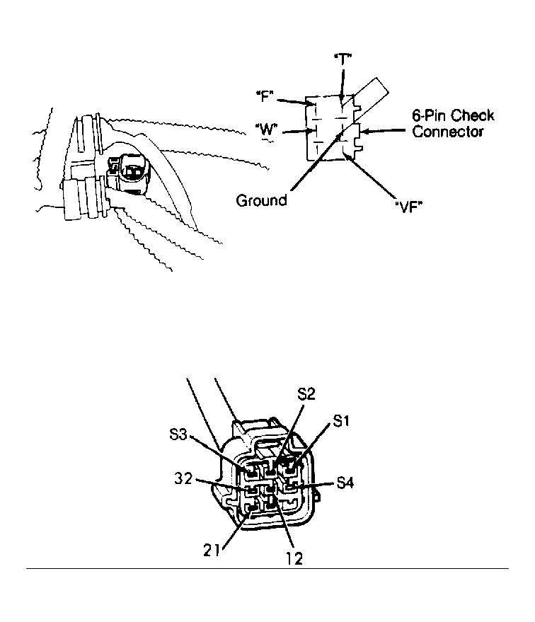
  3. Install Sub-Harness (SST 09991-87702-000) on 6-pin check connector located near top of transaxle (near battery on Rocky). Install a jumper wire between "F" terminal (White/Black wire) and ground terminal (Black wire). See Figure .
  4. Install negative battery cable. Turn ignition on and note fuel pressure. fuel pressure should be within specification. See FUEL PUMP PRESSURE SPECIFICATIONS  .
  5. If pressure reading exceeds specification, check for restricted fuel return line or restricted line between surge tank and/or return line and pressure regulator. If no restricted lines exist, check pressure regulator operation. For pressure regulator testing, see SYSTEM/COMPONENT TESTS article in the ENGINE PERFORMANCE Section.
    Fig 1: Checking Fuel System Pressure
    G90G16564Courtesy of DAIHATSU MOTOR CO. LTD.
  6. If fuel pressure is less than specification, check for restricted fuel lines or fuel filter. Check for defective pressure regulator or fuel pump. For component testing, see SYSTEM/COMPONENT TESTS article in the ENGINE PERFORMANCE Section.
  7. Turn ignition off, wait 3 minutes and note residual fuel pressure. Residual fuel pressure should exceed 35 psi (2.5 kg/cm2 ) on Charade 1.3L or 26 psi (1.8 kg/cm2 ) on all other models. If pressure is less than specification, check for leaking fuel lines. If no leaking fuel lines exist, check for defective fuel injectors, cold start injector, pressure regulator or fuel pump check valve. For component testing, see SYSTEM/COMPONENT TESTS article in the ENGINE PERFORMANCE Section.
  8. Remove sub-harness and jumper wire from 6-pin check connector and install terminal cap. Start engine and warm to normal operating temperature. Note fuel pressure with engine idling. Fuel pressure should be within specification. See FUEL PUMP PRESSURE SPECIFICATIONS  .
  9. If fuel pressure exceeds specification, check vacuum hose to pressure regulator for restrictions. If no restriction or system abnormality exists, replace pressure regulator.
  10. Disconnect negative cable and remove test equipment. Reinstall union bolt with new gaskets. Tighten union bolt to 25-32 ft. lbs. (34-43 N.m). Wipe off excess gasoline. Reconnect battery cable. Start engine and check for leaks.
FUEL PUMP PRESSURE SPECIFICATIONS

Application Specification psi (kg/cm2 )
Charade 1.0L & Rocky
With Ignition On (Engine Off) (1) 33-40 (2.3-2.8)
Engine At Idle (2) 36.3 (2.6)
Residual Pressure 25.6 (1.8)
Charade 1.3L
With Ignition On (Engine Off) (1) 37-45.5 (2.6-3.2)
Engine At Idle (2) 41.2 (2.9)
Residual Pressure 35.5 (2.5)
(1)
Check pressure with sub-harness installed on 6-pin check connector, located near top of transaxle, and jumper wire installed between "F" terminal and ground terminal. See Figure .
(2)
Check with sub-harness and jumper wire removed from 6-pin check connector and terminal cap reinstalled on 6-pin check connector.