lemon-mirror:
Home >> Dodge and Ram >> 1999 >> Viper ACR >> Repair and Diagnosis >> Engine Performance >> System >> Engine Control - Self-Diagnostics >> System Tests >> DTC P0153-A: 2/1 O2 Sensor Slow Response

DTC P0153-A: 2/1 O2 Sensor Slow Response

Fig 1: P0153-A: 2/1 O2 Sensor Slow Response (1 Of 6)
G00065550Courtesy of DAIMLERCHRYSLER CORPORATION
Fig 2: P0153-A: 2/1 O2 Sensor Slow Response (2 Of 6)
G00065551Courtesy of DAIMLERCHRYSLER CORPORATION
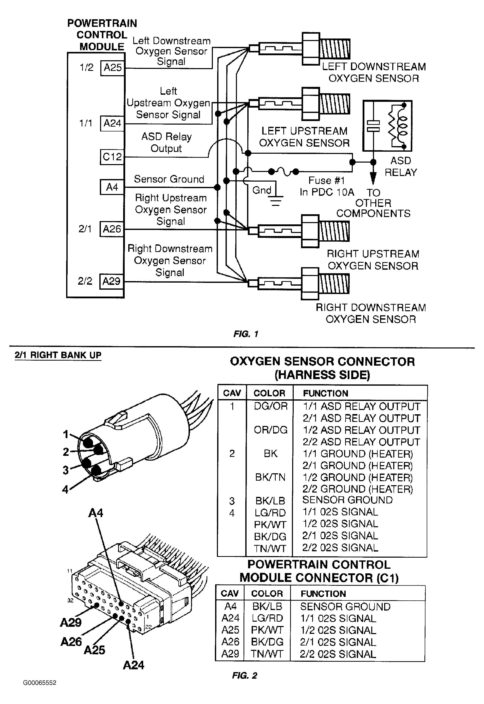
Fig 3: P0153-A: 2/1 O2 Sensor Slow Response (3 Of 6)
G00065552Courtesy of DAIMLERCHRYSLER CORPORATION
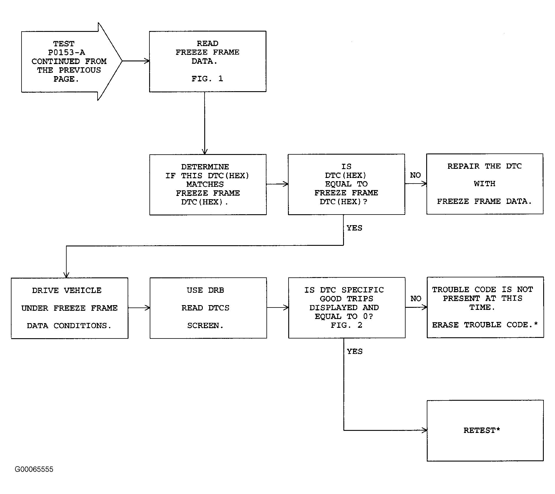
Fig 4: P0153-A: 2/1 O2 Sensor Slow Response (4 Of 6)
G00065553Courtesy of DAIMLERCHRYSLER CORPORATION
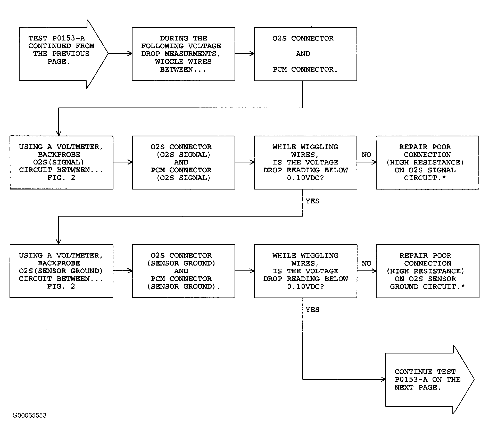
Fig 5: P0153-A: 2/1 O2 Sensor Slow Response (5 Of 6)
G00065554Courtesy of DAIMLERCHRYSLER CORPORATION
Fig 6: P0153-A: 2/1 O2 Sensor Slow Response (6 Of 6)
G00065555Courtesy of DAIMLERCHRYSLER CORPORATION