lemon-mirror:
Home >> Dodge and Ram >> 2005 >> Neon SXT, Automatic >> Repair and Diagnosis >> Restraints >> Restraints Control Systems >> CLOCKSPRING >> Description

Restraints Control Systems: CLOCKSPRING: Description

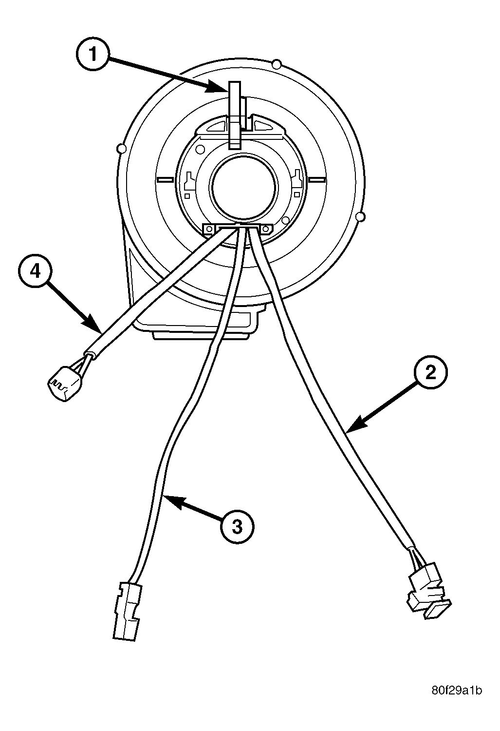
Fig 1: Clock Spring
GC0019995Courtesy of DAIMLERCHRYSLER CORP.
1 - LOCKING PIN
2 - DRIVER AIRBAG WIRE/CONNECTOR
3 - HORN WIRE/CONNECTOR
4 - SPEED CONTROL WIRE/CONNECTOR

The clock spring is mounted to the steering column behind the steering wheel. See Fig 1. The clock spring is used to maintain a continuous electrical circuit between the wiring harness and the: