lemon-mirror:
Home >> Dodge and Ram >> 2005 >> Sprinter 2500, Cab Chassis >> Repair and Diagnosis >> Restraints >> Restraints Control Systems >> Side Impact Sensor >> Description

Side Impact Sensor: Description

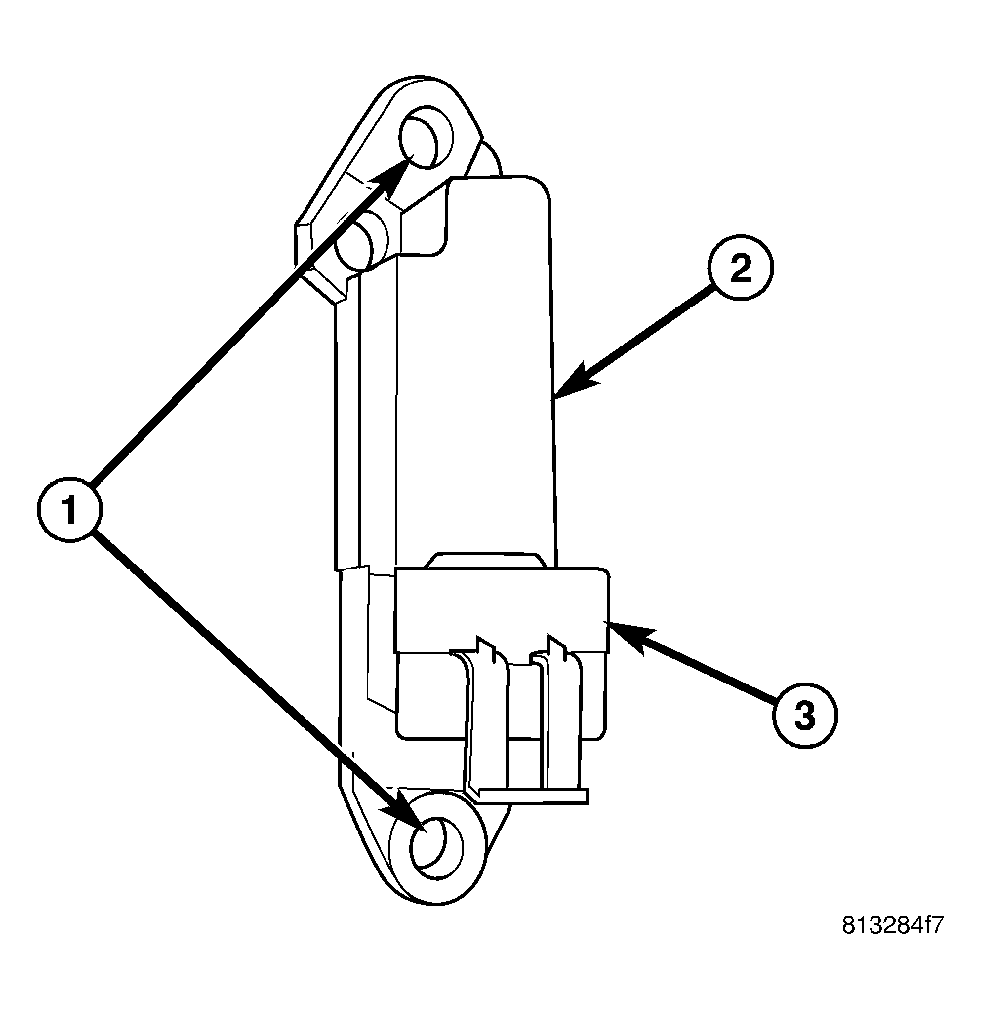
Fig 1: Side Impact Sensor
GC0037616Courtesy of DAIMLERCHRYSLER CORP.
1 - MOUNTING FLANGE (2)
2 - IMPACT SENSOR
3 - CONNECTOR RECEPTACLE

On vehicles equipped with the optional side curtain airbags, two side impact sensors are used, one each for the left and right sides of the vehicle. See Fig 1. These sensors are mounted remotely from the bi-directional safing sensor that is internal to the Airbag Control Module (ACM). The side impact sensors are each secured with two screws to the forward vertical surface of the right and left front door step wells and concealed behind the step well trim paneling within the passenger compartment.

The impact sensor housing has an integral connector receptacle and two integral mounting flanges, one at the top and one at the bottom. An arrow on the sensor housing provides a visual verification of the proper orientation of the unit, and should always be pointed toward the outboard side of the vehicle. A cavity in the center of the molded plastic impact sensor housing contains the electronic circuitry of the sensor, which includes an electronic communication chip and an electronic impact sensor. Potting material fills the cavity to seal and protect the internal electronic circuitry and components. The side impact sensors are each connected to the vehicle electrical system through a dedicated take out and connector of the vehicle wire harness.

The side impact sensors cannot be repaired or adjusted and, if damaged or faulty, they must be replaced.