lemon-mirror:
Home >> Eagle >> 1989 >> Premier ES >> Repair and Diagnosis >> Engine Performance >> System >> 2.5L Systems/Tests W/Codes >> Diagnostic Trouble Code (DTC) Identification >> Relay Terminal Identification >> Notes

Relay Terminal Identification: Notes

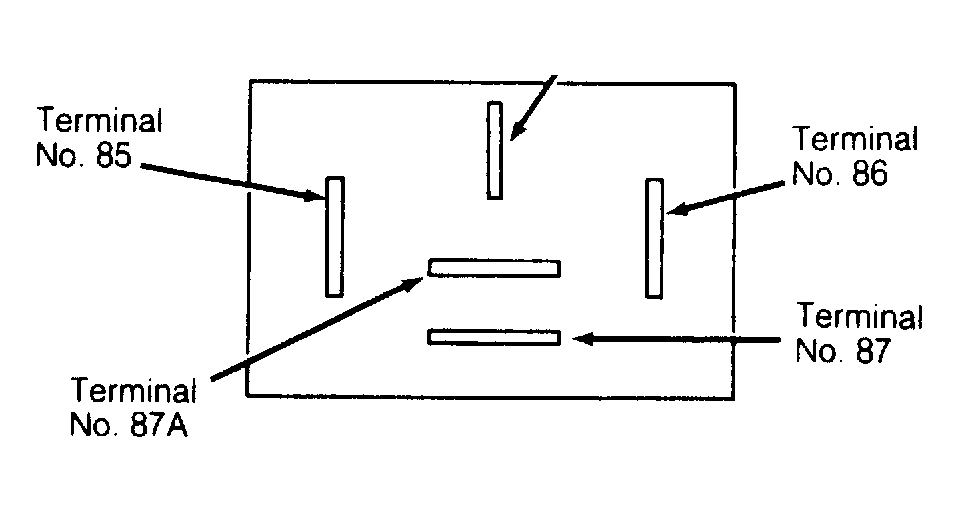
Fig 1: Relay Terminal Identification
G108125Courtesy of CHRYSLER MOTORS.