lemon-mirror:
Home >> Eagle >> 1990 >> Premier ES >> Repair and Diagnosis >> Brakes >> Traction Control >> Anti-Lock Brake System >> Code Charts >> Test 23A: Stoplight Switch Input Test

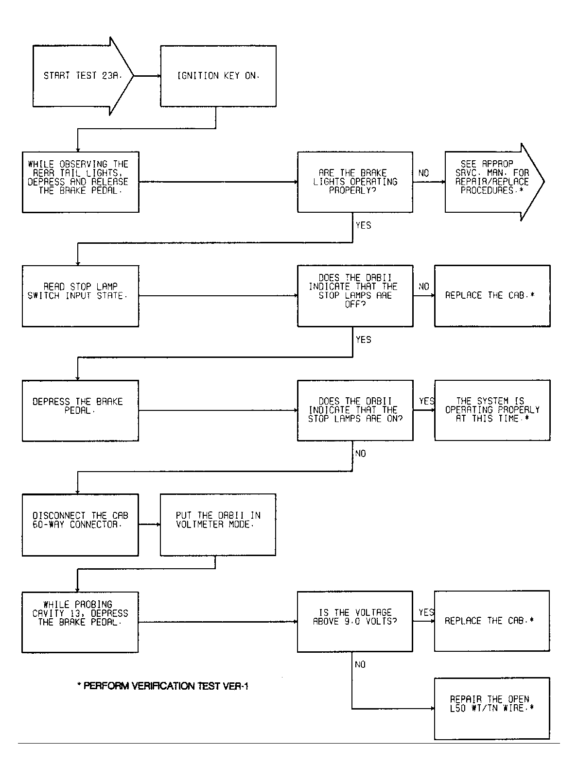
Test 23A: Stoplight Switch Input Test

Fig 1: Test 23A - Stoplight Switch Input Test, Schematic
G91C11017
Fig 2: Test 23A - Stoplight Switch Input Test, Flow Chart
G91G10880