lemon-mirror:
Home >> Eagle >> 1990 >> Premier ES >> Repair and Diagnosis >> Brakes >> Traction Control >> Anti-Lock Brake System >> Code Charts >> Test 3A: Modulator Fault

Test 3A: Modulator Fault

Fig 1: Test 3A - Modulator Fault, Schematic
G91I09165
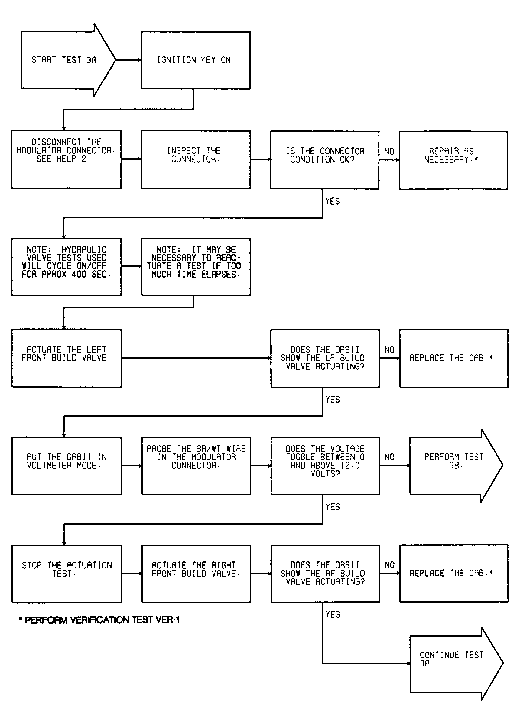
Fig 2: Test 3A - Modulator Fault, Flow Chart
G91A09166
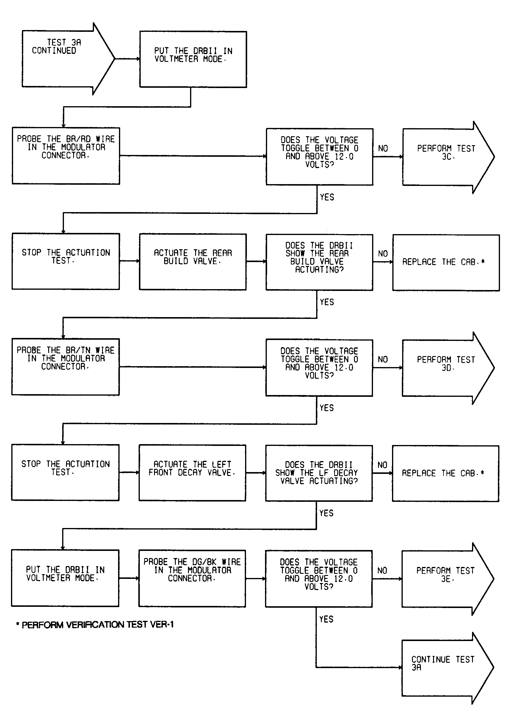
Fig 3: Test 3A - Modulator Fault, Flow Chart
G91C09167
Fig 4: Test 3A - Modulator Fault, Flow Chart
G91E09168
Fig 5: Test 3A - Modulator Fault, Flow Chart
G91G09169
Fig 6: Test 3A - Modulator Fault, Flow Chart
G91I09170