lemon-mirror:
Home >> Eagle >> 1990 >> Premier ES >> Repair and Diagnosis >> Brakes >> Traction Control >> Anti-Lock Brake System >> Code Charts >> Test 3C: Modulator Fault

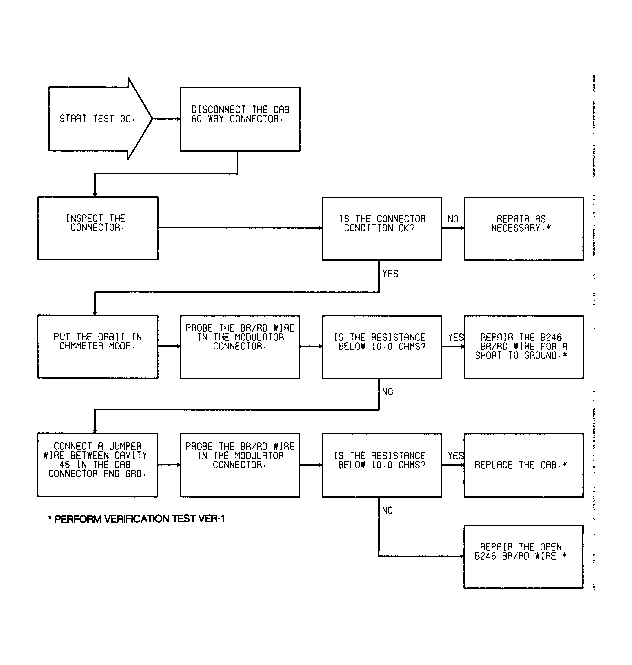
Test 3C: Modulator Fault

Fig 1: Test 3C - Modulator Fault, Schematic
G91I09165
Fig 2: Test 3C - Modulator Fault, Flow Chart
G91E09173