lemon-mirror:
Home >> Eagle >> 1990 >> Premier ES >> Repair and Diagnosis >> Brakes >> Traction Control >> Anti-Lock Brake System >> Code Charts >> Test 6A: System Relay Fault

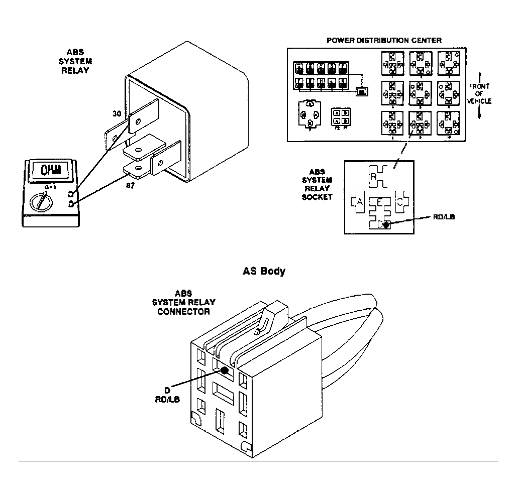
Test 6A: System Relay Fault

Fig 1: Test 6A - System Relay Fault, Schematic
G91I10791
Fig 2: Test 6A - System Relay Fault, Schematic
G91J11014
Fig 3: Test 6A - System Relay Fault, Flow Chart
G91J10792
Fig 4: Test 6A - System Relay Fault, Flow Chart
G91A10793