lemon-mirror:
Home >> Fiat >> 2014 >> 500e >> Repair and Diagnosis (Single Page) >> Engine Performance >> System >> Electric Powertrain System - 500E >> Electric Vehicle Control System >> Unit, Brake Operating >> Installation >> Installation

Unit, Brake Operating: Installation: Installation

WARNING:

When performing any repairs that involve contact with high voltage components or systems, the technician performing repairs on the vehicle must verify that the system remains powered down during high voltage repairs.

  • This must be done by removing the service disconnect.
  • The high voltage check out procedure must also be performed to ensure that the vehicle is properly powered down.
  • The technician must know the whereabouts of the service disconnect throughout the repair.
  • The technician must ensure that no one reconnects the service disconnect while service is being performed.
  • The technician must recheck that the service disconnect has not been reinstalled in cases where the vehicle was unattended.
NOTE:

If the reservoir was removed during unit removal, install the reservoir prior to installation of the BOU to the vehicle.

  1. With the aid of an assistant, guide the BOU into the dash panel opening.
  2. Insert the brake rod bushing into the pocket of the brake pedal assembly.
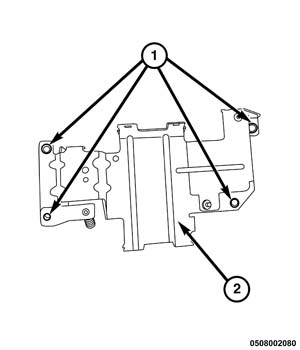
    Fig 1: BOU & Nuts
    GC0157650Courtesy of CHRYSLER GROUP, LLC
  3. Install the four nuts (1), tighten to 18 N.m (17 ft. lbs.).
    Fig 2: BOU, Brake Pedal Travel Sensor Connector & Hydraulic Lines
    GC0157921Courtesy of CHRYSLER GROUP, LLC
  4. Install the brake lines (3) to the BOU (1). tighten to 16 N.m (12 ft. lbs.).
  5. Plug the brake pedal travel sensor connector (2) into the BOU (1).
  6. Remove the electronic vehicle control unit (EVCU) bracket bolts (1).
    Fig 3: Electronic Vehicle Control Unit (EVCU) Bracket Bolts
    GC0157730Courtesy of CHRYSLER GROUP, LLC
  7. Install the EVCU. Install the bracket bolts (1). Tighten the EVCU bracket bolts to 24 N.m (18 ft. lbs.).
    Fig 4: Electronic Vehicle Control Unit (EVCU) & Electrical Connectors
    GC0157698Courtesy of CHRYSLER GROUP, LLC
  8. Connect the two electronic vehicle control unit (EVCU) electrical connectors (1).
    Fig 5: Brake Fluid Reservoir, Supply Hose & Connector
    GC0157830Courtesy of CHRYSLER GROUP, LLC
  9. Install the hose (3) to the reservoir (1). Position the clamp.
  10. Plug the brake fluid level sensor connector (2) into the reservoir (1).
    Fig 6: PDC Bracket & Nuts
    GC0157740Courtesy of CHRYSLER GROUP, LLC
  11. Install the PDC bracket (2).
  12. Position the bonding wire over the left rear stud. Tighten the nut to 9 N.m (80 in. lbs.).
  13. Install the PDC bracket nuts (1). Tighten the nuts to 18 N.m (17 ft. lbs.).
    Fig 7: PDC Bracket & Harness Retainer
    GC0157703Courtesy of CHRYSLER GROUP, LLC
  14. Insert the harness retainer (1) into the bracket (2).
    Fig 8: PDC Mounting Nuts
    GC0157729Courtesy of CHRYSLER GROUP, LLC
  15. Install the PDC to the bracket. Install the nuts. Tighten to 9 N.m (80 in. lbs.).
    Fig 9: PDC Connectors
    GC0157724Courtesy of CHRYSLER GROUP, LLC
  16. Plug in the PDC connectors (1).
    Fig 10: Under-Hood Fuse Box Tabs
    GC0157688Courtesy of CHRYSLER GROUP, LLC
  17. Install the PDC onto the bracket.
    Fig 11: Suction Line & HV Battery Chiller Block
    GC0157870Courtesy of CHRYSLER GROUP, LLC
  18. Install a NEW  gasket to the suction line fitting (1).
  19. Connect the suction line (1) to the HV battery chiller block (2). Tighten the nut to 11 N.m (8 ft. lbs.).
    Fig 12: Suction Line & Evaporator Block
    GC0157826Courtesy of CHRYSLER GROUP, LLC
  20. Install a NEW  seal to the suction line fitting (1). Install the line to the evaporator block (2). Tighten the nut to 11 N.m (8 ft. lbs.).
    Fig 13: Suction Line Retainer & Bolt
    GC0157761Courtesy of CHRYSLER GROUP, LLC
  21. Install the bolt (2) that secures the suction line retainer (1) to the power distribution center. Tighten to 9 N.m (80 in. lbs.).
    Fig 14: Under-Hood Fusebox Connectors
    GC0157607Courtesy of CHRYSLER GROUP, LLC
  22. Connect the under-hood fusebox connectors (1, 2).
    Fig 15: Intelligent Battery Sensor & Connector
    GC0157694Courtesy of CHRYSLER GROUP, LLC
  23. Connect the Intelligent Battery Sensor (IBS) two wire connector (1).
  24. Install the battery tray. Refer to TRAY, BATTERY, INSTALLATION .
  25. Install the battery. Refer to BATTERY, INSTALLATION .
  26. Recharge the air-condition system. Refer to REFRIGERANT SYSTEM CHARGE .
  27. Fill the brake fluid reservoir.
    Fig 16: Rubber Grommets
    GC0157771Courtesy of CHRYSLER GROUP, LLC
    NOTE:

    Do not use any lubricants on the rubber grommets.

  28. Inspect the rubber grommets (1) for secure fit in the cover.
  29. Position the beauty cover over the four mounting posts.
    Fig 17: Beauty Cover Attaching Points
    GC0157873Courtesy of CHRYSLER GROUP, LLC
  30. Using palm pressure, push down onto the cover at the four points (1) above the posts until fully seated.
  31. Pinch the power electronics coolant reservoir return hose and insert into the notch.
  32. Power up the vehicle. Refer to ELECTRIC VEHICLE CONTROL SYSTEM, STANDARD PROCEDURE .
  33. Perform the Repair Bleed Verification routine. Refer to ELECTRIC VEHICLE CONTROL SYSTEM, STANDARD PROCEDURE .