lemon-mirror:
Home >> Fiat >> 2017 >> 500L Pop >> Repair and Diagnosis >> Transmission >> Automatic Trans >> Cooling System >> Engine >> Cap, Radiator >> Inspection

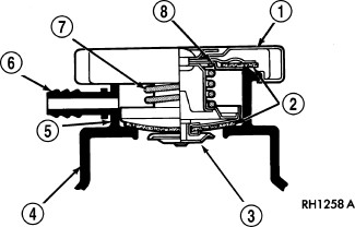
Cap, Radiator: Inspection

GC0091804Courtesy of CHRYSLER GROUP, LLC
1 - STAINLESS-STEEL SWIVEL TOP
2 - RUBBER SEALS
3 - VENT VALVE
4 - RADIATOR TANK
5 - FILLER NECK
6 - OVERFLOW NIPPLE
7 - MAIN SPRING
8 - GASKET RETAINER

Hold cap at eye level, right side up. The vent valve at bottom of cap should closed. A slight downward pull on the vent valve should open it. If the rubber gasket has swollen and prevents vent valve from opening, replace cap.

Hold cap at eye level, upside down. If any light can be seen between vent valve and rubber gasket, replace cap. A replacement cap must be the type designed for a coolant reserve/overflow system with a completely sealed diaphragm spring and a rubber gasket. This gasket is used to seal to radiator filler neck top surface. Use of proper cap will allow coolant return to radiator.