lemon-mirror:
Home >> Fiat >> 2021 >> 500X Pop >> Repair and Diagnosis >> Electrical >> Body Electrical >> Power Distribution >> Module, Power Inverter >> Description And Operation >> Operation

Description And Operation: Operation

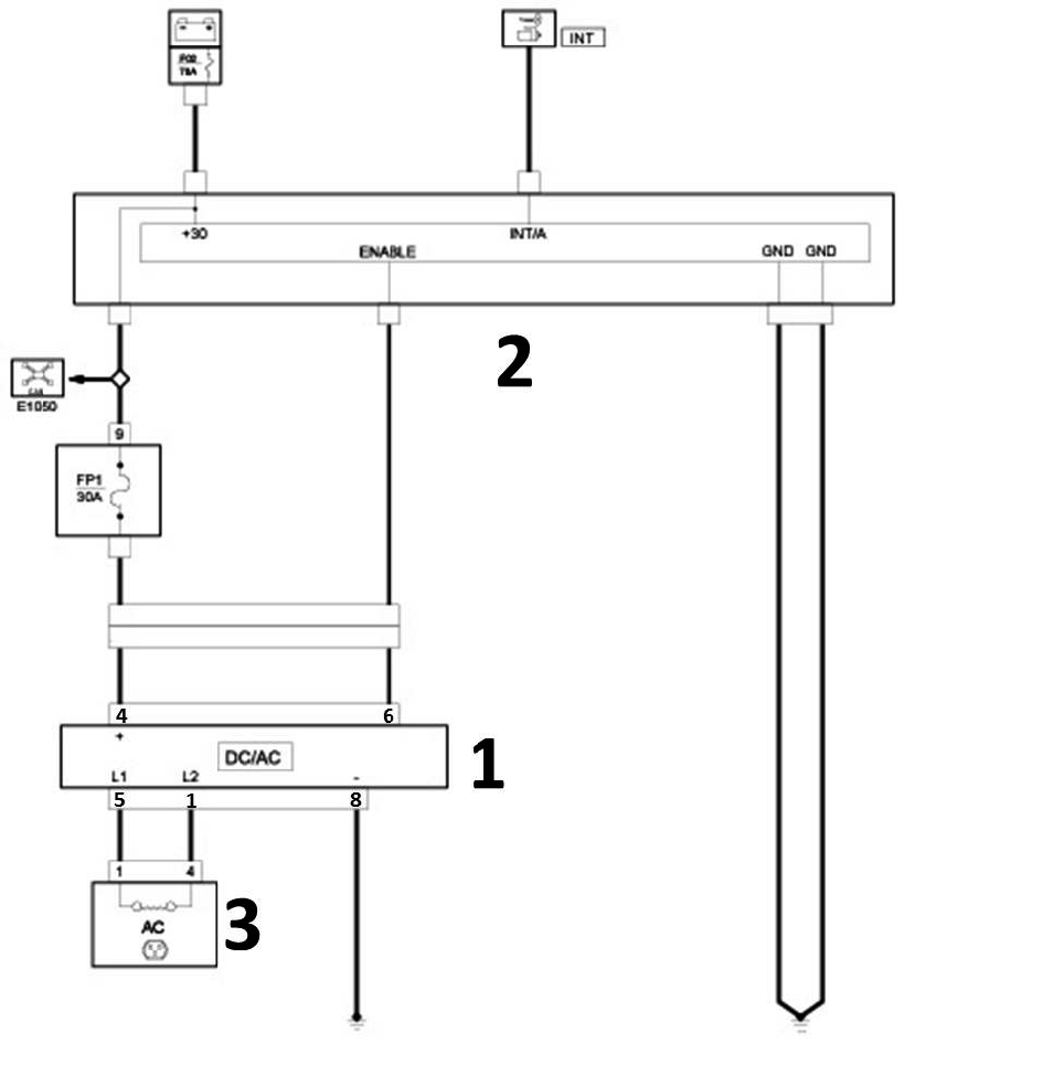
GC0169586Courtesy of CHRYSLER GROUP, LLC
Pin Function
1 CA2 (Output 2 in A.C.)
2 N.C.
3 N.C.
4 +30
5 CA1 (Output 1 in A.C.)
6 EL (enabling pin)
7 N.C.
8 Ground / Earth
GC0169345Courtesy of CHRYSLER GROUP, LLC

KEY 

  1. Power inverter module
  2. BCM
  3. Power socket