lemon-mirror:
Home >> Ford >> 1983 >> Ranger 2.2 P >> Repair and Diagnosis >> Engine Performance >> System >> 2.8L EEC IV Testing >> Testing & Diagnosis >> Test G - Code 22/Map Sensor

Test G - Code 22/Map Sensor

NOTE: If code 22 was displayed during the Key On -Engine Off Test, start at step 3). If code 22 was displayed during the Engine Running Test, start at step 1).
  1. Verify that all accessories were off during Engine Running Test. Check vacuum line to MAP sensor for opens, kinks or restrictions. Check for vacuum leaks in engine system. Refer to Emission Control Decal for hose routing. If any faults or leaks are found, repair as necessary and repeat Quick Test. If no faults or leaks are found, proceed with test.
  2. If codes 31 or 41 were present during Engine Running Test, perform appropriate test to repair code 31 and/or 41 before proceeding with test.
  3. Disconnect vacuum line from MAP sensor and attach a vacuum pump to sensor. Apply 20 in. Hg of vacuum to sensor. If sensor does not hold vacuum, replace sensor, reconnect and repeat Quick Test. If sensor holds vacuum, proceed with test.
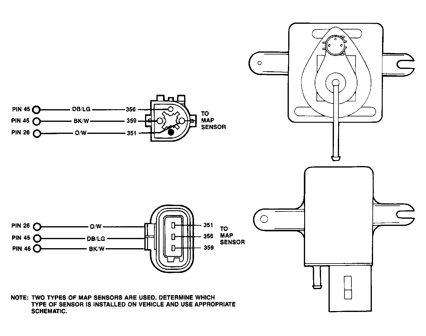
  4. With MAP sensor disconnected, turn ignition on. Connect voltmeter positive lead to harness circuit 351 and negative lead to circuit 359. If voltage is greater than 6 volts, perform Reference Voltage Test. If voltage is less than 4 volts, proceed to step 6). If voltage is between 4 and 6 volts, proceed to step 5).
  5. Turn ignition on. With MAP sensor disconnected, connect voltmeter positive lead to 356 and negative lead to circuit 359. If voltage is less than 4 volts, proceed to step 6). If voltage is 4 volts or more, proceed to step 8).
  6. Turn ignition off and wait 10 seconds. Disconnect processor 60 pin connector and inspect for corrosion, damaged pins or loose wires. Connect breakout box to harness, but leave processor disconnected. Measure continuity of harness circuit 359 to breakout box pin 46, circuit 351 to pin 26, and circuit 356 to pin 45. If all resistances are 5 ohms or less, proceed to step 7). If any resistance is more than 5 ohms, repair faulty circuit in harness and repeat Quick Test.
  7. Turn ignition off and wait 10 seconds. With processor disconnected, measure resistance from breakout box pin 26 to pins 40, 46 and 60. Measure resistance from breakout box pin 45 to pins 26, 40, 46 and 60. If any resistance is less than 100 ohms, repair short to ground and repeat Quick Test. If all resistances are 100 ohms or more, proceed to step 8).
  8. Turn ignition off and wait 10 seconds. Disconnect processor 60 pin connector and inspect for corrosion, damaged pins or loose wires. Connect breakout box to harness, but leave processor disconnected. Disconnect MAP sensor. Measure resistance from breakout box pin 45 to pins 26, 37 and 57. If any resistance is less than 10,000 ohms, repair short circuit and repeat quick test. If all resistances are more than 10,000 ohms, proceed with test.
  9. Plug in substitute MAP sensor and connect vacuum line. Repeat Quick Test. If code 22 is no longer present, permanently install sensor and repeat Quick Test. If code 22 is still present, replace processor, remove substitute sensor, and repeat Quick Test using original sensor.
Fig 1: MAP Sensor Test (Code 22) Schematic
G8429