lemon-mirror:
Home >> Ford >> 1985 >> LTD LX >> Repair and Diagnosis >> Maintenance >> Procedures >> Maintenance Information >> Service Point Locations

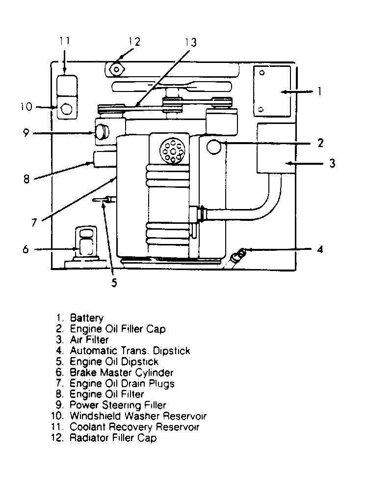
Service Point Locations

Fig 1: Service Point Locations (2.3L Engine)
G90C04202Courtesy of FORD MOTOR CO.
Fig 2: Service Point Locations (3.3L Engine)
G91J10131Courtesy of FORD MOTOR CO.
Fig 3: Service Point Locations (3.8L Engine)
G90E04203Courtesy of FORD MOTOR CO.
Fig 4: Service Point Locations (5.0L Engine)
G90G04204Courtesy of FORD MOTOR CO.