lemon-mirror:
Home >> Ford >> 1985 >> Ranger 2.0 C >> Repair and Diagnosis >> Engine Performance >> System >> Fuel Injection System - Multi-Point >> Testing >> Fuel Pump Control Test

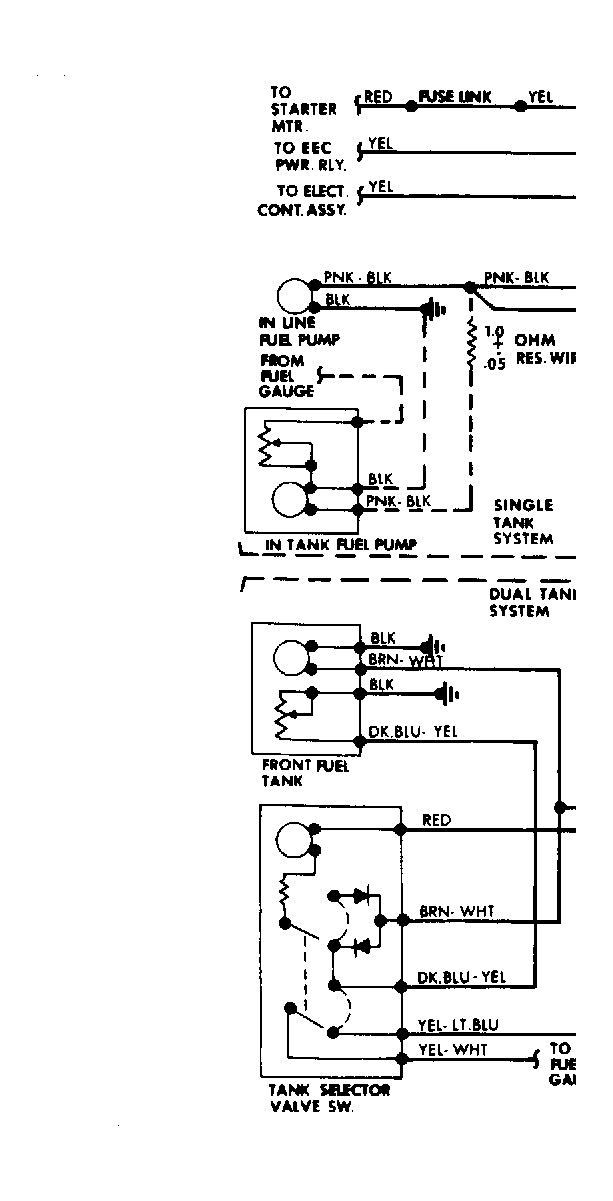
Fuel Pump Control Test

When ignition is turned on, EEC power relay is energized, closing its contacts. Power is provided to both fuel pump relay and a timing device in EEC module. Fuel pump runs through contacts of fuel pump relay. If ignition is not turned on within 1 second, timing device in EEC module will create an open ground circuit.

Opening ground circuit de-energizes fuel pump relay (opening its contacts), which in turn de-energizes fuel pump. This circuitry provides for pre-pressurization of fuel system. When ignition switch is turned to "START" position, EEC module operates fuel pump relay to provide fuel for starting engine while cranking.

Fig 1: Fuel Pump Circuit Wiring Diagram
G10500