lemon-mirror:
Home >> Ford >> 1988 >> Bronco II 4WD, Standard, M5OD-R1 >> Repair and Diagnosis >> Engine Performance >> System >> EEC-IV CEC System >> Quick Test >> Test C1 - Fuel Control-All Applications

Test C1 - Fuel Control-All Applications

NOTE: Perform this test when Service Code 41, 91, 42, 92, or 43, 65, 85, 86 is displayed during QUICK TESTS or when directed here by other test procedures.
NOTE: See HOW TO USE CIRCUIT TESTS before performing this test. Fuel contaminated engine oil may affect Service Codes 41, 91 and 42, 92. If this is suspected, remove PCV valve from valve cover and repeat QUICK TEST  . If problem is corrected, change engine oil and filter.
INDIVIDUAL INJECTOR RESISTANCE

Engine Ohms
2.3L MPFI 13.5-18.0
2.9L MPFI 13.5-18.0
3.0L MPFI 15.0-18.0
4.9L MPFI 13.5-18.0
5.0L MPFI 13.5-18.0
5.8L MPFI 13.5-18.0
7.5L MPFI 13.5-19.0
INJECTOR BANK RESISTANCE

Engine Ohms
2.3L MPFI 13.5-18.0
2.9L MPFI 13.5-18.0
3.0L MPFI 13.5-18.0
4.9L MPFI 13.5-18.0
5.0L MPFI 13.5-18.0
5.8L MPFI 13.5-18.0
7.5L MPFI 13.5-18.0
FUEL PRESSURE SPECIFICATIONS: psi (kg/cm2 )

Engine Pressure KOER Pressure KOEO
2.3L MPFI 30-45 (2.11-3.16) 35-45 (2.46-3.16)
2.9L MPFI 30-45 (2.11-3.16) 35-45 (2.46-3.16)
3.0L MPFI 30-45 (2.11-3.16) 35-45 (2.46-3.16)
4.9L MPFI 45-60 (3.16-4.22) 50-60 (3.52-4.22)
5.0L MPFI 30-45 (2.11-3.16) 35-45 (2.46-3.16)
5.8L MPFI 30-45 (2.11-3.16) 35-45 (2.46-3.16)
7.5L MPFI 30-45 (2.11-3.16) 35-45 (2.46-3.16)
Fig 1: All CFI Test Schematic
G200444
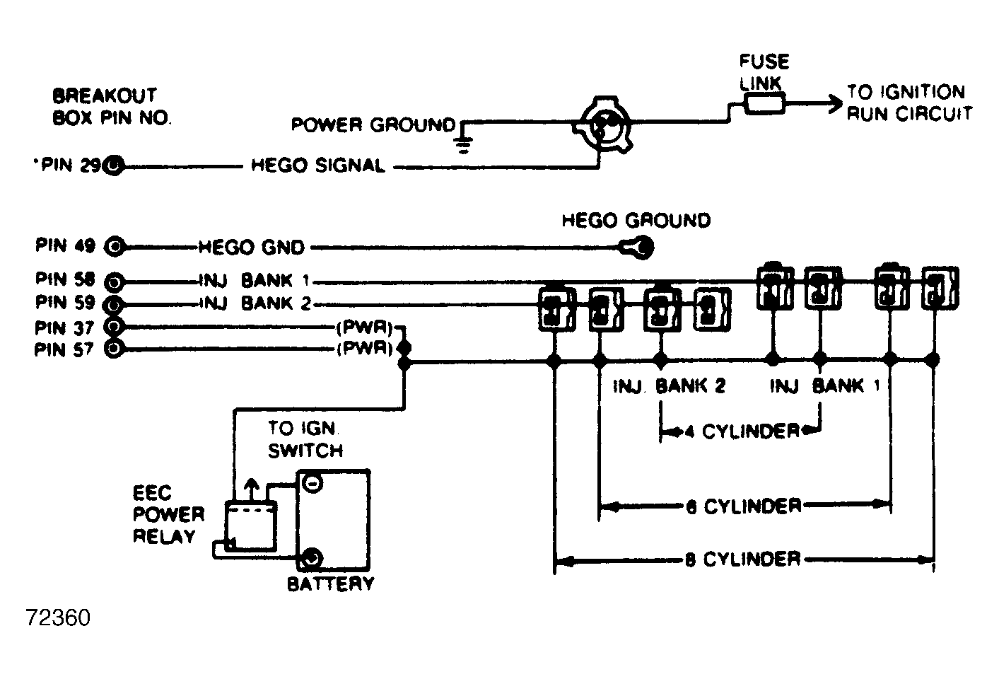
Fig 2: All MPFI Test Schematic
G72360
  1. Checking Fuel Pressure  - Turn ignition key off, wait 10 seconds. Install fuel pressure gauge and verify vacuum supply to fuel pressure regulator (if equipped). Run engine at idle and check fuel pressure. If vehicle will not start; cycle key on and off several times. See FUEL PRESSURE SPECIFICATIONS  table. If fuel pressure is within specification, go to next step. If pressure is not to specification, remove fuel pressure gauge. Repair electric fuel pump or fuel pressure regulator.
  2. Checking Fuel Pressure Valve  - With KOEO, check that fuel pressure remains to specification for approximately 60 seconds. If system holds pressure go to next step. If system does not hold pressure, go to step 6) for all engine applications except 5.0L SEFI. For 5.0L SEFI engines, go to step 9).
  3. Fuel Delivery Test  - Ensure fuel quality. With key off, install fuel pressure gauge and pressurize fuel system as in step 1). Disconnect inertia switch. Crank engine for 5 seconds. If fuel pressure drop is greater than 5 psi after 5 seconds of cranking, the EEC-IV system is not the cause of the no start condition. Check additional DIAGNOSIS BY SYMPTOM  tests. Reconnect inertia switch and remove fuel pressure gauge. If problem is rough running, missing, or a fuel service code, go to next step. For 5.0L SEFI models, go to step 9). If fuel pressure drop is less than 5 psi. remove fuel pressure gauge, reconnect inertia switch, and go to next step.
  4. Checking Injector and Harness Resistance  - Turn key off and wait 10 seconds. Disconnect ECA 60-pin connector. Inspect pins for damage. Install breakout box, leave ECA disconnected, and set DVOM on 200-ohm scale.
    • MPFI Engines: Measure resistance of injector banks No. 1 and 2 between Test Pins No. 37 and 58 (Bank No. 1) or 59 (Bank No. 2) at breakout box. Record resistance.
    • SEFI Engines: Measure resistance between suspect cylinder (from Cylinder Balance Test) Test Pin and Test Pin No. 37, at the breakout box. Record resistance.
    • For No Starts: Choose any injector and measure resistance between that injector circuit Test Pin and Test Pin No. 37, at breakout box. Record resistance.
    • CFI Engines: Measure resistance of injector circuit between Test Pins No. 37 and 58 at the breakout box. Record resistance.
    Compare resistance with appropriate specification in INJECTOR BANK RESISTANCE  table. If injector is within specification go to step 6). If injector is not within specifications, do the following:
    • MPFI Engines: Go to next step.
    • SEFI Engines: Remove breakout box and reconnect ECA. Service open/short in harness/connector. If okay, replace injector. Rerun QUICK TEST  and Cylinder Balance Test.
    • For No Start: Service open in VPWR circuit.
    • CFI Engines: Remove breakout box and reconnect ECA. Repair open/short in harness/connector. If okay, replace injector, rerun QUICK TEST  .
  5. Isolating Faulty Injector Circuit  - Turn key off. Install breakout box and disconnect ECA. Disconnect all injectors on suspect bank. With DVOM meter set on 200-ohm scale, connect one injector and measure resistance between Test Pins No. 37 and 58 or 59. Disconnect injector and repeat process for all others. See INDIVIDUAL INJECTOR RESISTANCE  table for specifications. If injectors are within specifications, go to step 6). If injectors are not to specification, remove breakout box, reconnect ECA and injectors. Repair open/short in injector harness. If okay, replace injector. Rerun QUICK TEST  .
  6. Checking Injector Drive Signal  - With key off and breakout box installed, connect ECA to breakout box. Use a non-powered 12-volt test light and the following connection procedure:
    • MPFI Engines: Connect test light between Test Pins No. 37 and 58 at the breakout box. Connect light between Test Pins No. 37 and 59 at the breakout box.
    • SEFI Engines: Connect test light between Test Pin No. 37 and the suspect injector(s) Test Pin at the breakout box.
    • CFI Engines: Connect test light between Test Pins No. 37 and 58, at the breakout box.
    Crank or start engine. A properly operating system is indicated by a test light that glows dimly. On all models except 5.0L SEFI, if light glows dim go to next step. On 5.0L SEFI engine, remove breakout box and reconnect ECA. Clean and test injectors. Rerun QUICK TEST  and CYLINDER BALANCE TEST. If test light does not glow dimly, do the following procedure:
    • No Light: Check for 12 volts at Test Pins No. 37 and 57.
    • Bright Light: Check injector circuit for shorts to ground. If okay, remove breakout box and replace ECA. Rerun QUICK TEST  .
  7. Fuel Pressure Problems: External Sources  - Pressurize fuel system as per step 1). Examine fuel system in the following manner.
    • MPFI Engines: Visually inspect, fuel injector "O" rings, fuel pressure regulator, and fuel rails.
    • CFI Engines: Remove air inlet duct at fuel charging assembly injection inlet. Visually inspect, fuel injector "O" rings, fuel pressure regulator, and fuel line connections.
    If there is a visible leak, remove pressure gauge. Repair leak as necessary. Rerun QUICK TEST  . If there is no leak, go to next step for MPFI engines. For CFI engines, remove pressure gauge. Fuel delivery system is okay. Problem is in common area for all cylinders, such as, vacuum leak, fuel contamination, or EGR leak.
  8. Injector Balance Test  - Connect tachometer to engine. Start and run engine at idle. Disconnect and reconnect injectors one at a time. Note RPM drop for each injector. Each injector should produce a 100 RPM drop. Note that ISC will attempt to re-establish correct RPM. If each injector does not produce at least 100 RPM drop when disconnected, replace faulty injector(s) and repeat QUICK TEST  . If RPM drop is correct for all injectors, fuel delivery is okay. Problem is in area common to all cylinders such as a vacuum leak, fuel contamination, EGR, etc.
  9. Cylinder Balance Test: SEFI Engines ONLY  - Perform KEY ON ENGINE RUNNING (KOER) SELF-TEST  . After last code is displayed, wait 5-10 seconds. Enter CYLINDER BALANCE TEST by briefly opening throttle for one second (not WOT). Test time is approximately 1.5 minutes. A code 77 indicates that the throttle was touched when the test was running and that the test was not completed. Use table to interpret codes received from test. If balance test does not display code 90, go to step 4). If balance test displays code 90 (Pass), go to next step.
    CYLINDER BALANCE TEST SERVICE CODES

    Service Code Cylinder/Injector No. Breakout Box Test Pin No.
    90 Pass Pass
    10 1 58
    20 2 59
    30 3 12
    40 4 13
    50 5 14
    60 6 15
    70 7 42
    80 8 52
    77 Retest Retest
    NOTE: A code 90 received in the initial stage of the cylinder balance test indicates that the injector harness is not open or shorted, and a signal is being sent to all injectors. The 2nd and 3rd level tests is designed to identify injectors that are only partially operating.
  10. 2nd & 3rd Level Balance Tests  - Within 2 minutes after the previous test, lightly depress throttle again. This will enter the 2nd/3rd test stages. If code 90 is not present at all levels, go to step 4). If code 90 is present in all levels, use the following procedures.
    • 5.0L MA SEFI: If service code 41 or 91 is displayed go to next step. If service code 42 or 92 is displayed go to step 23).
    • All Other Engines: Go to DIAGNOSIS BY SYMPTOM  in this article.
  11. Code 41 or 91: Fuel Mixture Always Lean  - Run engine at 2000 RPM for 2 minutes. Turn key off and wait 10 seconds. Rerun KEY ON ENGINE RUNNING (KOER) SELF-TEST  . Check for code 41 or 91.
    NOTE: For 5.0L SEFI or 5.0L MA SEFI, code 41 refers to Right HEGO, and code 91 refers to Left HEGO.

    If code 41 or 91 is not displayed, go to step 20). If code 41/91 is displayed go to appropriate step number as listed below.

    • Engines equipped with MAP sensors: Go to next step.
    • Engines equipped with VAF meters: Go to step 13).
    • Engines equipped with MA meters: Go to step 14).

  12. Checking HEGO Sensor on Engines With MAP Sensors  - Turn key off and set DVOM on 20-volt scale. Disconnect appropriate HEGO sensor from vehicle harness. Connect DVOM to HEGO Signal lead at sensor and engine ground. Apply 10-14 in. Hg vacuum to Manifold Absolute Pressure (MAP) sensor and start engine. If reading is less than 0.5 volts, replace HEGO sensor(s). Repeat QUICK TEST  . If reading is more than 0.5 volts, go to step 15). If reading is less than 0.5 volts, replace HEGO sensor, reconnect MAP, and rerun QUICK CHECK.
    NOTE: Vacuum or air leaks in non-EEC-IV related areas may cause codes 41/91. Check the following areas: A/C control motor, engine seals, EGR system, PVC system, Lead contamination of HEGO sensor.
  13. Checking HEGO Sensor On Engines With VAF Meters  - With key off and DVOM set on 20-volt scale, disconnect HEGO sensor from harness. Connect DVOM between HEGO sensor and engine ground. Remove air cleaner in order to reach airflow meter inlet. Use a pencil to prop air meter door in partially open position. Start and run engine at 2000 RPM for 2 minutes. If reading is not greater than 0.5 volts after one minute, replace HEGO sensor and repeat QUICK TEST  . If reading is greater than 0.5 volts after one minute, go to step 15).
  14. Checking HEGO Sensor On Engines With MA Sensor  - With key off and DVOM set on 20-volt scale, disconnect HEGO sensor from harness. Connect DVOM between HEGO sensor and engine ground. Rerun KEY ON ENGINE RUNNING (KOER) SELF-TEST  and monitor HEGO sensor voltage. If voltage is greater than .5 volts, at end of test go to next step. If voltage is less than .5 volts, replace HEGO sensor and rerun QUICK TEST  .
    NOTE: Vacuum or air leaks in non-EEC-IV related areas may cause codes 41/91. Check the following areas: A/C control motor, engine seals, EGR system, PVC system, Lead contamination of HEGO sensor, Air leak between VAF meter and Throttle Body. The purpose of this test is to verify that HEGO sensor can generate at least .5 volts.
  15. Checking Continuity of HEGO Signal and Ground Circuits  - Turn key off. Install breakout box, leaving ECA and HEGO disconnected. Set DVOM on 200-ohm scale and measure resistance between Test Pin No. 49 and engine block ground. Measure resistance between Test Pin No. 29 and HEGO signal at vehicle harness connector. For vehicles with dual HEGO sensors measure resistance between Test Pin No. 43 and HEGO signal at vehicle harness connector. If all readings are greater than 5 ohms, repair open in appropriate circuit and repeat QUICK TEST  . If all readings are less than 5 ohms, go to next step.
  16. Checking HEGO Circuit For Short to Ground  - Turn key off. Leave breakout box installed and ECA disconnected. Disconnect HEGO sensor and set DVOM on 200K-ohm scale. Measure resistance between Test Pin No. 29 and Test Pin No. 40 at the breakout box. For vehicles with dual sensors measure resistance between Test Pin No. 43 and Test Pin No. 40. If any reading is less than 10K ohms, repair short to ground. Repeat QUICK TEST  . If reading is 10K ohms or higher, go to next step.
  17. Checking HEGO Sensor For Short to Ground  - With key off, breakout box installed, and ECA disconnected, set DVOM to 200K-ohm scale. Disconnect HEGO sensor. Measure resistance between HEGO power ground and HEGO signal at the sensor connector. If resistance is less than 10K ohms, replace HEGO sensor and rerun QUICK TEST  . If resistance is greater than 10K ohms, do the appropriate following procedure.
    • Engines equipped with MAP sensor: Go to next step.
    • Engines equipped with VAF meter: Go to step 19).
    • Engines equipped with MA (Mass Air Sensor): Remove breakout box, reconnect HEGO sensor, replace ECA and rerun QUICK TEST  .
  18. Eliminating Code 41: Engines With MAP Sensor  - Turn key off. Install breakout box and connect ECA and HEGO sensor. Ensure MAP sensor vacuum hose is disconnected and plugged. Apply 10-14 in. Hg to MAP sensor. Start and run engine at 2000 RPM for one minute. Allow engine to return to idle. Perform KEY ON ENGINE RUNNING (KOER) SELF-TEST  . If code 41 is still present, check ECA connector for corroded or damaged pins. If connector is okay, replace ECA. Connect MAP sensor vacuum hose and repeat QUICK TEST  . If code 41 is not present, connect MAP sensor vacuum hose. HEGO input circuit is okay. Go back to step 1).
  19. Eliminating Code 41: Engines With VAF Meter  - With key off, install breakout box and connect ECA. Reconnect HEGO sensor. Remove air filter and insert a pencil in VAF meter inlet. Start engine and run at 2000 RPM for approximately 2 minutes. Rerun SELF-TEST. If code 41 is not present, the HEGO circuit is okay, Remove breakout box, reconnect ECA and go to step 1) of this test. If code 41 is displayed, remove test set-up, replace ECA, and rerun QUICK TEST  .
  20. Checking HEGO Heater Element  - Turn key off, disconnect HEGO sensor, and set DVOM on 200-ohm scale. Measure resistance between ignition run circuit and power ground circuit at HEGO connector. Hot to warm resistance should be 5-20 ohms. Room temperature resistance is 2-5 ohms. If resistance is within specification, go to next step. If resistance is not within specifications, replace HEGO sensor and rerun QUICK TEST  .
  21. Checking Power at HEGO Harness Connector  - With KOEO, and HEGO disconnected, set DVOM on 20-volt scale. Measure voltage between ignition run circuit and power ground circuit at HEGO harness connector. If voltage is greater than 10.5 volts, HEGO system is okay, go to step 1) of this test. If voltage is less than 10.5 volts go to next step.
  22. Checking Continuity of Power Ground Circuit  - Turn key off and wait 10 seconds. Disconnect HEGO sensor and set DVOM on 200-ohm scale. Measure resistance between Power Ground circuit at HEGO vehicle harness connector and battery ground. If resistance is less than 5 ohms, repair open in ignition run circuit and rerun QUICK TEST  . If resistance is more than 5 ohms, reconnect HEGO sensor and repair open in power ground circuit. Rerun QUICK TEST.
  23. Code 42 or 92 Displayed: Fuel Control Rich  - On 5.0L engines, code 42 refers to right side HEGO, code 92 refers to left side HEGO. Turn key off and wait 10 seconds. Disconnect appropriate HEGO sensor. Set DVOM on 20-volt scale. Turn key on. Measure voltage between HEGO signal and HEGO power ground at HEGO harness connector. If reading is more than .5 volt, repair short to power in HEGO circuit. Repeat QUICK TEST  . If reading is less than .5 volts, go to next step.
  24. Checking HEGO Circuit For Short in Key Power Circuit  - Turn key off and leave HEGO disconnected. Set DVOM on 200K-ohm scale. Measure resistance from key power input to HEGO signal circuit at HEGO sensor connector. If reading is 10K ohms or less, replace HEGO sensor and repeat QUICK TEST  . If reading is greater than 10K ohms, go to next step.
  25. Attempt to Generate Code 41 or 91  - Turn key off and wait 10 seconds. Disconnect appropriate HEGO sensor. Using jumper wire, connect HEGO signal circuit at HEGO harness connector to battery negative. Repeat KEY ON ENGINE RUNNING (KOER) SELF-TEST  . If codes 41 or 91 are present, remove jumper wire and go to next step for engines with MAP. All others, go to step 28). If codes 41 or 91 are not present, remove jumper wire. Disconnect ECA connector and inspect for damage. If connector is okay, replace ECA. Repeat QUICK TEST  .
  26. Checking MAP Sensor For Vacuum Leaks  - Turn key off and wait 10 seconds. Disconnect vacuum hose from MAP sensor and connect vacuum pump to sensor. Apply 18 in. Hg of vacuum to MAP sensor. If sensor does not hold vacuum, replace MAP sensor. Connect vacuum hose and repeat QUICK TEST  . If MAP holds vacuum, release vacuum and go to next step.
  27. Checking For Loss of Vacuum to MAP Sensor  - Using vacuum "T", connect vacuum gauge in intake manifold vacuum hose at MAP sensor. Start engine and note vacuum reading. Turn key off and wait 10 seconds. Remove "T" and vacuum gauge. Reconnect hose to MAP sensor. Connect vacuum gauge at a different intake manifold location. Start engine and note vacuum reading. If readings differ by more than one in. Hg, inspect vacuum hoses for leaks, kinks, or blockage. Repair as required. If readings are within one in. Hg of each other, go to the next step.
  28. HEGO Sensor Check  - Turn key off and wait 10 seconds. Disconnect HEGO sensor. Set DVOM on 20-volt scale and connect to HEGO Signal at HEGO sensor connector. Remove a vacuum hose to create a vacuum leak, which will cause the HEGO sensor to go lean. Start engine and run at 2000 RPM. The DVOM should indicate .4 volts within 30 seconds. If voltage is within specification, HEGO is okay, go to step 1) of this test. If voltage is not within specification, replace HEGO sensor and rerun QUICK TEST  .
  29. Continuous Testing: Code 41 or 91  - Indicates that a HEGO circuit has not switched during closed loop fuel control. In this situation a code 41 or 91 may not indicate a lean condition. Diagnose all other driveability complaints in the DIAGNOSIS BY SYMPTOM  table before attempting to service a continuous memory code 41 or 91. Check the following areas.
    • Unmetered Air/Vacuum Leaks. Canister Purge System. PVC System. Engine Sealing. Crimped Fuel Lines. Plugged Fuel Filter. Fouled Injectors.
    • HEGO Fuel Fouled. If an over-rich condition is suspected of fouling the HEGO sensor, run the vehicle at sustained high (legal) speeds followed by a few hard acceleration runs. This will allow the HEGO contamination to be burned off.
    • Ignition System. Check for DEFAULT base timing in QUICK TEST  procedure.
    • Improper Fuel Used. Lead Fouled HEGO Sensor.
    • Fuel Pressure. Check Pressure Using Steps 1) and 2).
    • TP Sensor. With KOEO, move throttle slowly to WOT. Measure voltage between Test Pins No. 47 and 46 at breakout box. If voltage does not increase with throttle opening replace TP sensor or linkage as necessary.
    If vehicle still has driveability problems perform test steps 1) through 6).
  30. Continuous Testing: Codes 41, 42, 43, 65, 85 or 86  - Diagnose all other driveability complaints before servicing these codes.
    • Code 41: HEGO indication that the fuel system was lean for more than 15 seconds when the fuel system should have been in closed loop fuel control.
    • Code 42: HEGO indication that the fuel system was rich for more than 15 seconds when the fuel system should have been in closed loop fuel control.
    • Code 43: HEGO indicated that the fuel system was lean during WOT for more than 3 seconds.
    • Code 65: Closed loop not activated on HEGO switching.
    • Code 85: Excessive rich mixture condition corrected.
    • Code 86: Excessive lean fuel mixture condition corrected.
    If an over-rich fuel condition is suspected or experienced, check ignition system. Burn off fuel deposits on HEGO by operating the vehicle at sustained high (legal) speeds followed by a few hard acceleration runs. This will allow the HEGO contamination to be burned off. Check the following areas:

    Code 41 

    • Intermittent HEGO Signal (Signal or Ground).
    • If Code 65 Also Present, Repair HEGO Circuit (Signal or Ground).
    • If Code 43 Also Present, Service Code 43 First.
    • Check VAF For Leaks or Sticking.
    • Low Fuel Pressure at WOT, Check Fuel Supply.
    • Low Fuel Flow at WOT (Pressure Okay), Check Clogged Injectors or Low Battery.

    Code 42 

    • Intermittent HEGO Signal (Signal or Ground Circuit).
    • Airflow Meter Indicating Incorrect Airflow, Check Voltage Output.
    • Excessive Fuel Pressure, Pressure Regulator Vacuum Supply Disconnected.
    • Excessive Fuel Flow, Damaged or Stuck Open Injector(s).

    Codes 41 and 42: 

    • Intermittent HEGO Signal (Signal or Ground Circuit).
    • Sticking VAF Vane, Due to Contamination.
    • Contaminated HEGO Sensor, Lead or Silicone Fouled.

    Code 43 

    • Low Fuel Pressure at WOT, Fuel Pump or Restricted Supply.
    • Low Fuel Flow at WOT, Injectors Plugged or Low Battery Voltage.

    Code 65: 

    • Check For Faulty HEGO Signal.

    Code 85: 

    • If Code 42 Also Displayed, Service it First.
    • Excessive Fuel Pressure, Check Regulator Vacuum Line and Fuel Supply Line.
    • Excessive Fuel Flow, Check Injector(s) Pintles or Injector Stuck Open.

    Code 86: 

    • If Code 41 Also Displayed, Service it First.
    • Low Fuel Pressure, Low Pressure Pump or Restricted Fuel Supply.
    • Low Fuel Flow, Clogged Injectors or Low Battery Voltage.