lemon-mirror:
Home >> Ford >> 1989 >> Taurus SHO >> Repair and Diagnosis >> Electrical >> Gauges >> Instrument Panel >> Testing >> Modules >> Tripminder Interface Module (Mark VII)

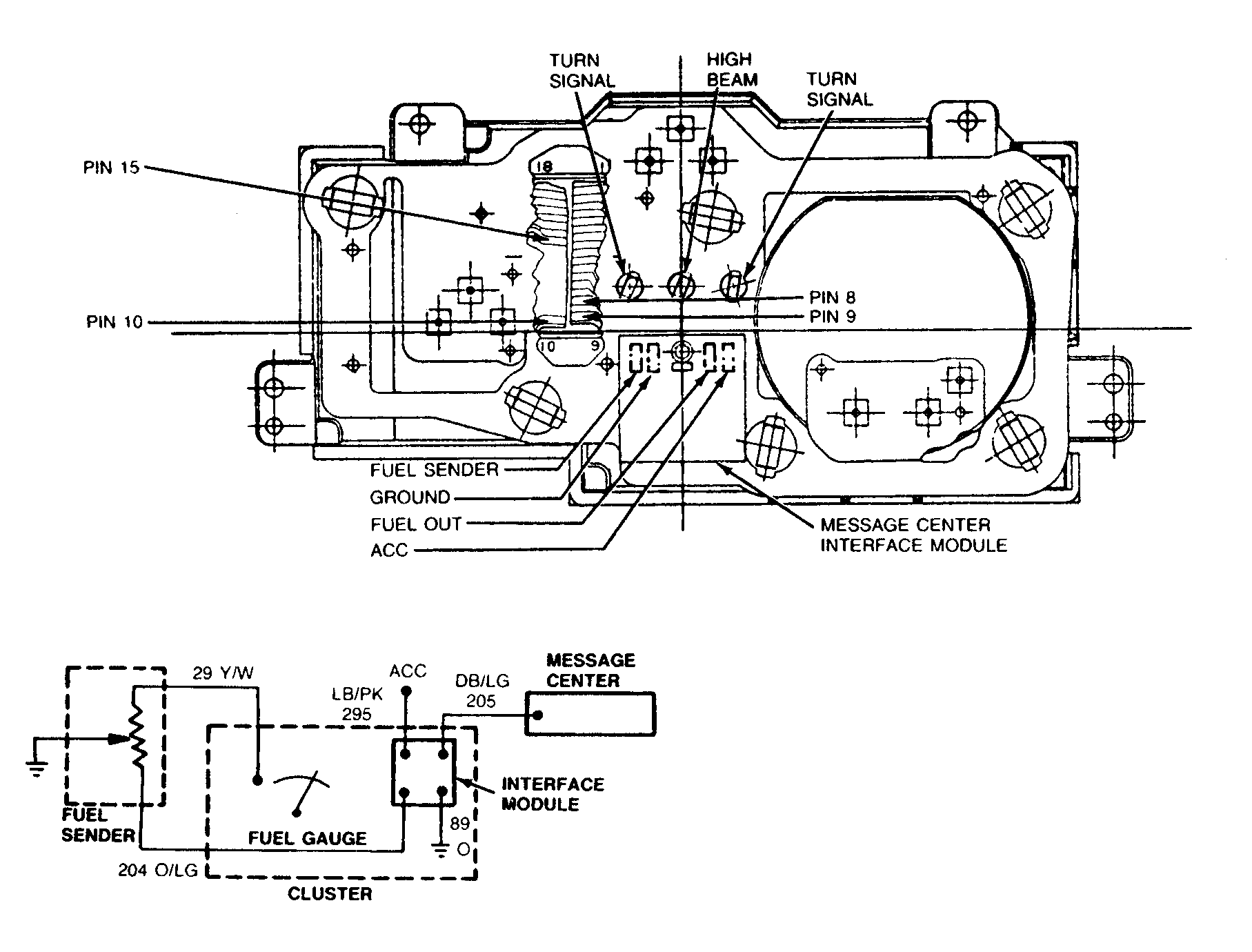
Tripminder Interface Module (Mark VII)

  1. Remove instrument cluster sufficiently to access the cluster electrical connector.
  2. Using a voltmeter, with the ignition switch in the "RUN" position and the cluster harness connector plugged into the cluster, measure the output voltage at Pin No. 9 of the instrument cluster and ground. See Fig 1 and Fig 2 .
    Fig 1: Mark VII Tripminder Interface Module Location The tripminder is part of the message center interface module. Courtesy of Ford Motor Co.
    G113340
    Fig 2: Mark VII Tripminder Interface Module Schematic
    G113341Courtesy of FORD MOTOR CO.
  3. Voltage reading should correspond with those in the TRIPMINDER VOLTAGE SPECIFICATIONS table below. If not, replace the tripminder interface module.
TRIPMINDER VOLTAGE SPECIFICATIONS

If Fuel Volume Is: Voltage Reading Should Be:
Full Tank 3-3.5 Volts
Half Tank Approximately 2 Volts
Empty Tank (1) .4-1 Volt
(1) With fuel gauge sending resting on the empty stop.