lemon-mirror:
Home >> Ford >> 1989 >> Taurus SHO >> Repair and Diagnosis >> Engine Performance >> Ignition System >> Ignition System - DISTRIBUTORLESS >> Description & Operation

Description & Operation

The Distributorless Ignition System (DIS) consists of a crankshaft mounted Hall Effect Profile Ignition Pickup (PIP) sensor, a camshaft driven Hall Effect Cylinder Identification (CID) sensor, a 6 tower DIS coil, and a DIS ignition module. The DIS ignition system eliminates the distributor by using multiple coils.

Each coil fires 2 spark plugs at the same time. Spark plugs are paired so as one fires during compression stroke, the other fires during exhaust stroke. Their are 3 coils mounted together in a "coil pack". Each coil pack has 3 tach wires, one for each coil.

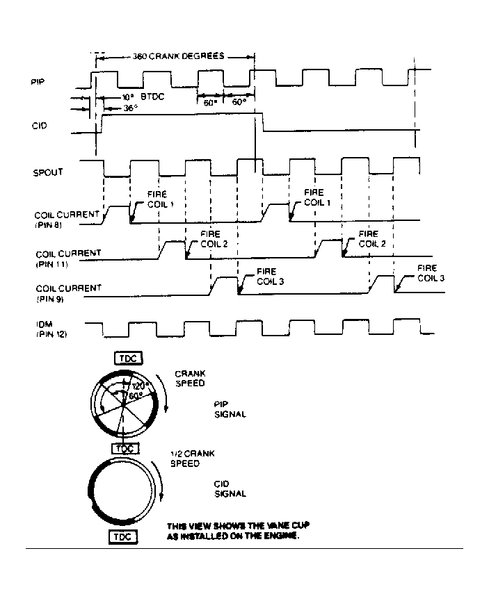
The crank sensor is a digital output hall device that sends out a signal called Profile Ignition Pickup (PIP). The PIP is produced by a rotating metallic vane mounted on crankshaft damper assembly. The crankshaft sensor has 3 teeth and generates 3 PIP signals for every one revolution of the crankshaft.

The Cylinder Identification (CID) signal is generated by a single toothed vane cup hall device driven by camshaft that produces one signal every camshaft revolution, or once every 2 crankshaft revolutions. See Fig 1. The 3.0L SHO CID sensor is mounted at end of the rear camshaft. The 3.8L SC CID sensor is mounted in normal distributor location. See Fig 2 or Fig 3.

The PIP output is a 50% duty cycle (50% on and 50% off) signal that provides base spark timing information. The CID signal output is also a 50% duty cycle signal and is used so DIS module knows which coil to fire. CID signal is high (10-12 volts) for half of the cam revolution (180 degrees) and low the other half. See Fig 4.

The EEC-IV processor determines spark angle (SPOUT) using the PIP signal to establish base timing. The SPOUT signal is produced and sent by EEC-IV processor to DIS module and serves 2 purposes. The leading edge of the signal fires the coil and trailing edge of the signal controls dwell timing. This feature is called Computer Controlled Dwell (CCD).

The Ignition Diagnostic Monitor (IDM) is an output from DIS module that provides diagnostic information concerning the ignition system to EEC-IV module for self-test.

If the CID circuit fails and an attempt to start the engine is made, the DIS module will randomly select one of the 3 coils to fire. If hard starting results, turning ignition off and cranking engine again will result in another "guess". Several attempts may be needed until proper coil is selected allowing the vehicle to be started and driven until repairs can be made.

The Failure Effects Management system attempts to keep the vehicle driveable in spite of certain EEC system failures that prevent the EEC module from providing spark angle or dwell commands. The EEC processor opens SPOUT line and the DIS module fires coils directly from PIP input. This results in a fixed spark angle of 10 degrees and fixed dwell.

Fig 1: Hall Effect Signal Sending
G106304Courtesy of FORD MOTOR CO.
Fig 2: 3.0L SHO Engine DIS Component Locations
G106302Courtesy of FORD MOTOR CO.
Fig 3: 3.8L Engine DIS Component Locations
G106305Courtesy of FORD MOTOR CO.
Fig 4: DIS Waveform Diagram
G106306Courtesy of FORD MOTOR CO.