lemon-mirror:
Home >> Ford >> 1990 >> Tempo Base >> Repair and Diagnosis >> Engine Performance >> System >> Engine Controls - Tests W/Codes - 2.3L >> Test H - Fuel Control >> Notes

Test H - Fuel Control: Notes

NOTE: For fuel pressure specifications, see FUEL PRESSURE SPECIFICATIONS article.
NOTE: Perform this test when Code 41, 91, 42, 92, 43, 65, 85, 86 or 93 is displayed during QUICK TESTS or when directed here by other test procedures.
NOTE: See HOW TO USE CIRCUIT TESTS, at beginning of circuit tests before performing this test. Fuel contaminated engine oil may affect Codes 41, 91, 42, or 92. If this is suspected, remove PCV valve from valve cover and repeat QUICK TEST. If problem is corrected, change engine oil and filter.
NOTE: Use this test to diagnose only the following components:
CAR - INDIVIDUAL INJECTOR RESISTANCE (1)

Engine Ohms
2.3L OHC 15.0-18.0
All Others 13.0-16.0
(1) Resistance values are for a single injector.
CAR - INJECTOR BANK RESISTANCE

Engine Ohms
2.3L HSC PFI 6.0-8.0
2.3L OHC PFI 7.0-9.5
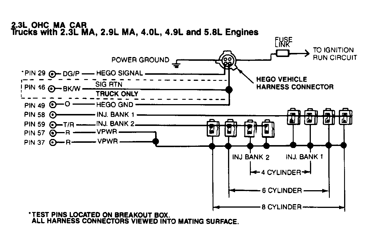
TEST PIN WIRE COLOR IDENTIFICATION

Application Wire Color
Pin 29 (Right HEGO) Tan/Orange
Pin 43 (Left HEGO) Tan/Red
Pin 58 Tan/Orange
Test Pin No. 59 Tan/Red
Fig 1: 2.3L OHC MA PFI (Car) Test Schematic
G90I12441
Fig 2: Test Schematic For All Other PFI Engines
G90J12442
NOTE: KOER Codes 41 and 91 are HEGO codes that indicate the system is always lean. KOER Codes 42 and 92 indicate the system is always rich. For vehicles equipped with dual HEGO's Codes 41 and 42 refer to Right (rear) HEGO sensors. Codes 91 and 92 refer to Left (front) HEGO sensors.

1) Check Fuel Pressure  Turn ignition key off and wait 10 seconds. Install fuel pressure gauge. Verify that manifold vacuum supply is connected to fuel pressure regulator (if equipped). Run engine at idle and check fuel pressure. If vehicle will not start, cycle key on and off several times. For fuel pressure specifications, see FUEL PRESSURE SPECIFICATIONS article. If vehicle is a no start, cycle key on and off several times. If fuel pressure is within specification, go to next step. If pressure is not to specification, remove fuel pressure gauge. Repair electric fuel pump or fuel pressure regulator.

2) Check Fuel Pressure Check Valve  With KOEO, ensure that fuel pressure remains within specification for approximately 60 seconds. If system holds pressure, but vehicle runs rough or misses, or Codes 41, 42, 91 or 92 are present, go to step 9 for sequential PFI engines, or step 4 for all others. If vehicle is a no start, go to next step. If system does not hold pressure, go to step 6 for all engine applications except sequential PFI. For sequential PFI engines, go to step 9.

3) Fuel Delivery Test  Ensure fuel is of good quality. With key off, install fuel pressure gauge and pressurize fuel system as in step 1). Disconnect inertia switch. Crank engine for 5 seconds. If fuel pressure drop is greater than 5 psi after 5 seconds of cranking, the EEC-IV system is not the cause of the no start condition. Check additional no start tests in TESTS W/O CODES article. If fuel pressure drop is less than 5 psi, remove fuel pressure gauge, reconnect inertia switch, and go to next step.

4) Check Injector & Harness Resistance  Turn key off and wait 10 seconds. Disconnect ECA 60-pin connector. Inspect pins for damage. Install breakout box, leaving ECA disconnected. Set DVOM on 200-ohm scale. Do the following: