lemon-mirror:
Home >> Ford >> 1990 >> Thunderbird Base >> Repair and Diagnosis >> Maintenance >> Procedures >> Maintenance Information >> Service Point Locations

Service Point Locations

Fig 1: Service Point Locations (5.0L Engine)
G93B44637Courtesy of FORD MOTOR CO.
Fig 2: Service Point Locations (5.0L HO Engine)
G93C44638Courtesy of FORD MOTOR CO.
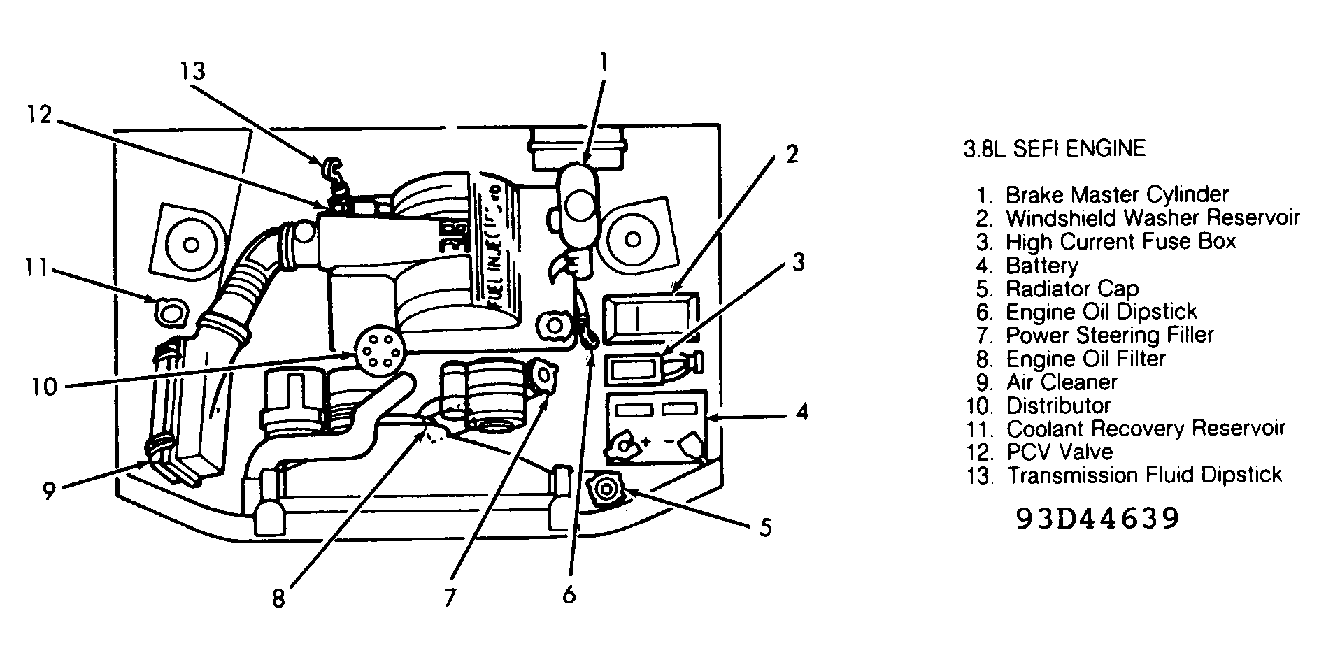
Fig 3: Service Point Locations (3.8L SEFI Engine)
G93D44639Courtesy of FORD MOTOR CO.
Fig 4: Service Point Locations (3.8L SC Engine)
G93G44640Courtesy of FORD MOTOR CO.
Fig 5: Lift Point Locations
G50B12139Courtesy of FORD MOTOR CO.