lemon-mirror:
Home >> Ford >> 1993 >> Probe Base, Automatic >> Repair and Diagnosis >> Engine Performance >> System >> Engine Controls - Basic Testing - V6 >> Ignition Checks >> Distributor Ignition (Di) System >> Spark Output Check

Spark Output Check

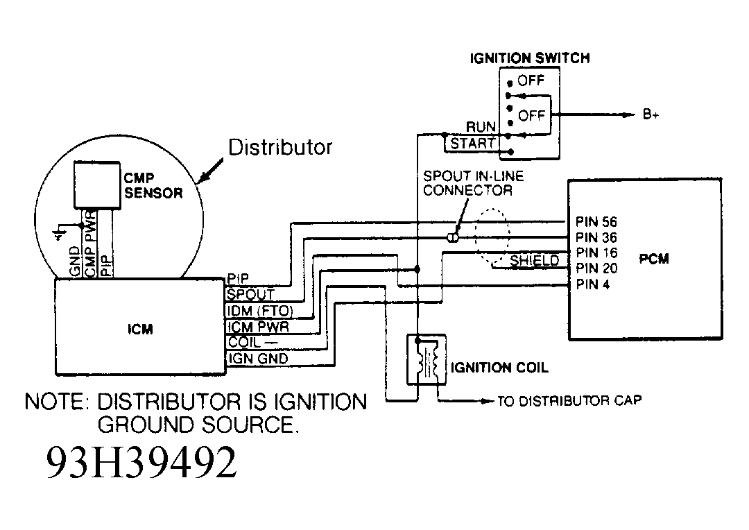
  1. Check the DI system (formally Thick Film Ignition-IV (TFI-IV) system) for fault codes and repair if necessary. See QUICK TEST in appropriate G - EEC-IV TESTS W/ CODES article in the ENGINE PERFORMANCE Section. If no fault codes are retrieved, check ignition system wiring harness connectors for damage, corrosion and tight fit. See Fig 1 or Fig 2 .
  2. If no fault codes are retrieved and vehicle will start, go to appropriate TESTS W/O CODES article in the ENGINE PERFORMANCE Section. If no fault codes are retrieved and vehicle is a no-start, connect a high-output spark tester between ignition coil wire and engine ground. Check for spark at coil wire while cranking engine. A consistent Blue spark should be present.
  3. If spark is present, go to step 4). If no spark is present, remove distributor cap and crank engine to ensure distributor rotates. If okay, check resistance of coil secondary wire. Resistance should be less than 7000 ohms per foot. Service coil wire if necessary and retest. On all models except 2.5L, if spark is not present, go to IGNITION SYSTEMS in I - ECC-IV SYS/COMP TESTS article in the ENGINE PERFORMANCE Section. On 2.5L, if spark is not present, go to H - (EEC) TESTS W/O CODES article in the ENGINE PERFORMANCE Section.
  4. On all models, if a consistent Blue spark is present at coil wire during cranking, inspect distributor cap and rotor for cracks or carbon tracking. Service as necessary and test spark output at spark plugs. If spark is present at spark plugs and engine will not start, go to NO START/NORMAL CRANK under SYMPTOMS in TESTS W/O CODES - EEC or see MODULES & SOLENOIDS in SYSTEM/COMPONENT TESTS - EEC in the ENGINE PERFORMANCE Section.
Fig 1: Distributor Ignition (DI) System Electrical Diagram (3.0L)
G93H39492Courtesy of FORD MOTOR CO.
Fig 2: Distributor Ignition (DI) System Electrical Diagram (3.8L)
G93I39493Courtesy of FORD MOTOR CO.