lemon-mirror:
Home >> Ford >> 1994 >> Aspire SE, Automatic >> Repair and Diagnosis >> Engine Performance >> System >> Engine Controls - Tests W/Codes >> Quick Tests >> Switch Monitor Test >> VOM

Switch Monitor Test: VOM

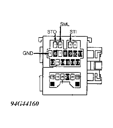
1)  Ground STI connector. Connect VOM positive lead to SML terminal on self-test connector. Connect negative lead to ground. See Figure .

2)  Operate each switch listed in SWITCH MONITOR TEST table below. Note output on VOM as each switch is operated. Go to specified PINPOINT TEST if any switch does not meet specification.

NOTE: DO NOT  move throttle, clutch, or transmission range selector lever unless so directed.
SWITCH MONITOR TEST

Switch VOM Indication/Condition (1) Pinpoint Test
A/C Switch Less Than 1.5 Volts; A/C & Blower Switch On STG 
Blower Motor Switch Less Than 1.5 Volts; Switch Set To "2" Or Higher STG 
Brake On/Off Switch Less Than 1.5 Volts; Brake Pedal Partially Pressed STP 
Clutch Engage/Neutral Gear Switch (2) Less Than 1.5 Volts; In Gear, Clutch Released STG 
Coolant Temperature Switch Less Than 1.5 Volts; Cooling Fan On STP 
Cooling Fan Relay Less Than 1.5 Volts; Accelerator Pedal Pressed (3) ROC 
Defrost Switch Less Than 1.5 Volts; Defrost Switch On STP 
Headlight Switch Less Than 1.5 Volts; Headlight Switch On STP 
Idle Switch Less Than 1.5 Volts; Accelerator Pedal Pressed STG 
Manual Lever Position Switch Less Than 1.5 Volts; Transaxle In Park Or Neutral STP 
Wide Open Throttle Switch Less Than 1.5 Volts; Accelerator Pedal Fully Pressed STG 
(1) Proceed to specified PINPOINT TEST if indication is incorrect.
(2) Not applicable to vehicles with A/T.
(3) Fan should operate.