lemon-mirror:
Home >> Ford >> 1995 >> Probe Base, Automatic >> Repair and Diagnosis >> Body & Frame >> Headlight Doors >> Testing >> Headlights Inoperative

Headlights Inoperative

  1. Check Fuse Check 30-amp HEAD fuse in engine compartment fuse panel. If fuse is okay, go to step 3). If fuse is blown, turn ignition off. Replace 30-amp fuse. Turn ignition on and recheck. If fuse does not blow again, go to step 3). If fuse repeatedly fails, go to next step.
  2. Turn ignition off. Remove 30-amp fuse. Disconnect 6-pin combination switch connector. Disconnect headlight relay and retractor CPU module connector. Measure resistance of Red/Yellow wire between fuse terminal and ground. If resistance is less than 5 ohms, repair Red/Yellow wire. If resistance is more than 5 ohms, turn ignition off. Replace 30-amp fuse and go to next step.
  3. Check Headlight Relay Disconnect headlight relay. Apply battery power to terminals No. 1 and 2 of relay. See Fig 1 . Measure voltage at terminal No. 4 of relay, with terminal No. 3 open and grounded. With terminal No. 3 grounded, voltage at terminal No. 4 should be more than 10 volts. With terminal No. 3 open, voltage at terminal No. 4 should be less than one volt. If voltages are correct, go to next step. If voltages are not correct, replace headlight relay.
    Fig 1: Headlight Relay Terminal Identification
    G94B31972Courtesy of FORD MOTOR CO.
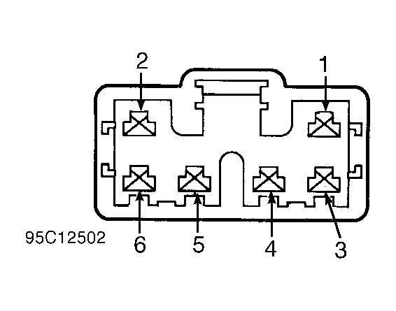
    Fig 2: Headlight Switch Terminal Identification
    G95C12502Courtesy of FORD MOTOR CO.
  4. Check Headlight Switch Turn ignition off. Disconnect 6-pin and 14-pin connectors at combination switch. Measure resistance between 6-pin connector terminals (switch side) with the switch in the listed positions. See COMBINATION SWITCH RESISTANCE  table. See Fig 2 . If switch is okay, Go to next step.
    COMBINATION SWITCH RESISTANCE

    Switch Position Terminals (1) Ohms
    Flash-To-Pass 4-3 Less Than 5
    High Beam 5-3 Less Than 5
    " 5-1 More Than 10,000
    Low Beam 5-3 Less Than 5
    " 5-1 More Than 10,000
    All Others 4-3 More Than 10,000
    (1) See Fig 2 , for terminal Identification.
  5. Turn ignition off. Disconnect 14-pin combination switch connector. Measure resistance of Black wire between connector and ground. If resistance is less than 5 ohms, go to next step. If resistance is more than 5 ohms, repair Black wire.
  6. Disconnect headlight relay and 6-pin combination switch connector. Measure resistance of White wire between relay connector and 6-pin combination switch connector. Measure resistance of White/Red wire between relay connector and 14-pin combination switch connector. If resistances are less than 5 ohms, repair Black wire between headlights and ground. If resistance(s) are more than 5 ohms, repair White and/or White/Red wire(s).