lemon-mirror:
Home >> Ford >> 1995 >> Probe Base, Automatic >> Repair and Diagnosis >> Electrical >> Gauges >> Instrument Panel >> Pinpoint Tests >> Instrument Cluster Terminal Identification

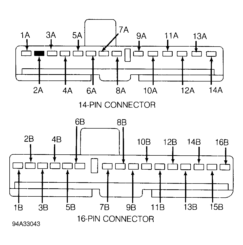
Instrument Cluster Terminal Identification

Some PINPOINT TESTS specify measurements at various instrument cluster pins. These pins are identified in the illustration. See Fig 1 .

Fig 1: Identifying Instrument Cluster Terminals
G94A33043