lemon-mirror:
Home >> Ford >> 1995 >> Probe Base, Automatic >> Repair and Diagnosis >> Electrical >> Gauges >> Instrument Panel >> Testing >> Fuel Gauge Sending Unit Test

Fuel Gauge Sending Unit Test

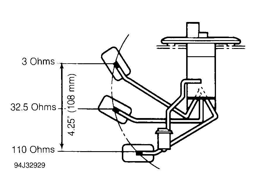
Remove fuel pump. Measure resistance between sending unit terminals (Yellow and Black/Red wires on mating connector) while positioning float as shown. See Fig 1 . If measurements are as specified, return to appropriate PINPOINT TEST. Replace sending unit if measurements are not as specified.

Fig 1: Testing Fuel Gauge Sending Unit
G94J32929Courtesy of FORD MOTOR CO.