lemon-mirror:
Home >> Ford >> 1996 >> Taurus SHO >> Repair and Diagnosis >> Body & Frame >> Door Locks >> Keyless Entry System - Remote >> Testing >> Notes

Keyless Entry System - Remote: Testing: Notes

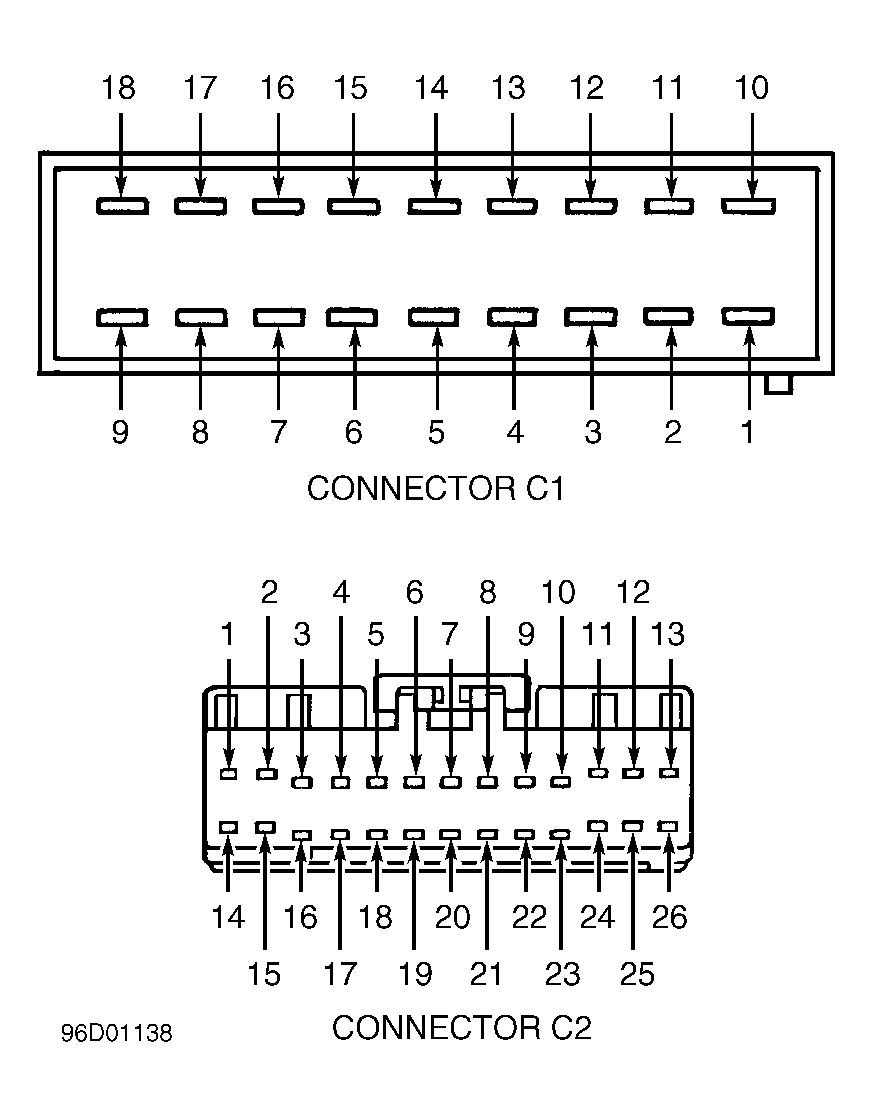
At least one remote transmitter is required for testing. The following tests make references to Remote Anti-theft Personality (RAP) module connectors and Generic Electronic Module (GEM) connectors. See Fig 1 and Fig 2 for connector terminal identification. For additional information, see DOOR LOCKS & TRUNK RELEASE - POWER article.

Fig 1: Identifying Remote Anti-Theft Personality (RAP) Module Connector Terminals (Sable & Taurus)
G96B01137Courtesy of FORD MOTOR CO.
Fig 2: Identifying Generic Electronic Module (GEM) Connector Terminals (Sable & Taurus)
G96D01138Courtesy of FORD MOTOR CO.