lemon-mirror:
Home >> Ford >> 1997 >> Probe Base, Automatic >> Repair and Diagnosis >> Body & Frame >> Mirrors >> Power Mirror System >> Component Testing >> Mirror Motor

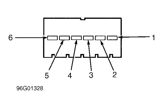
Mirror Motor

  1. Turn ignition off. Remove door trim panel. Disconnect mirror motor harness connector. Apply battery voltage to terminal No. 5 and ground to terminal No. 4. See Fig 1 . Switch ground to terminal No. 6. Mirror should move left, then down.
  2. Apply ground to terminal No. 5 and battery voltage to terminal No. 4. Switch battery voltage to terminal No. 6. Mirror should move right, then up.
Fig 1: Identifying Power Mirror Motor Terminals
G96G01328Courtesy of FORD MOTOR CO.