lemon-mirror:
Home >> Ford >> 1997 >> Probe Base, Automatic >> Repair and Diagnosis >> External Pages >> Different car >> Section 5 (Keyless Entry System - Remote) >> Symptom Tests >> Notes

Symptom Tests: Notes

WARNING: This page is about a different car, the 1997 Lincoln Continental. However, it is still accessible from the selected car via links, so may be relevant.

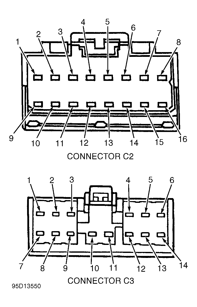
At least one remote transmitter is required for testing. The following tests make numerous references to DDM connectors and terminals. See Fig 1 . See DOOR LOCKS & TRUNK RELEASE - POWER article for further information.

Fig 1: Identifying Driver's Door Module Connector Terminals
G95D13550Courtesy of FORD MOTOR CO.