lemon-mirror:
Home >> Ford >> 1998 >> Contour Base, Automatic >> Repair and Diagnosis >> Quick Lookups >> Technical Bulletins >> Campaigns >> Engine Control Systems >> Owner Notification Program 01M04 - Additional Coverage Program For The Fuel Pipe Flapper Valve Assembly (01M04)

Owner Notification Program 01M04 - Additional Coverage Program For The Fuel Pipe Flapper Valve Assembly (01M04)

Publication date: 2001-06-01
Reference number: 01M04

OWNER NOTIFICATION PROGRAM 01M04 - ADDITIONAL COVERAGE PROGRAM FOR THE FUEL PIPE FLAPPER VALVE ASSEMBLY

OWNER NOTIFICATION PROGRAM 01M04 - ADDITIONAL COVERAGE PROGRAM FOR THE FUEL PIPE FLAPPER VALVE ASSEMBLY

SERVICE CAMPAIGN BULLETIN

Reference Number(s): 01M04, Date of Issue:  June, 2001
FORD: 1998 Contour
MERCURY: 1998 Mystique and 1999 Cougar

OWNER NOTIFICATION PROGRAM 01M04

SUBJECT

Owner Notification Program 01M04: Certain 1998 Contour and Mystique and Certain 1999 Cougar Vehicles - Additional Coverage Program for the Fuel Pipe Flapper Valve Assembly

PROGRAM TERMS

This additional coverage program will be in effect for 10 years service or 100,000 miles from the warranty start date, whichever occurs first. If a vehicle already has more than 100,000 miles, this coverage will last until December 31, 2001.

VEHICLES COVERED BY THIS PROGRAM

  • Certain 1998 model year Contour and Mystique vehicles built at both the Cuautitlan Assembly Plant and the Kansas City Assembly Plant from Job #1, 1998 through July 31, 1998
  • Certain 1999 model year Cougar vehicles built at the Auto Alliance International Plant in Flat Rock from Job #1 through July 31, 1998

REASON FOR PROVIDING ADDITIONAL COVERAGE

In the vehicles covered by this program, the fuel pipe flapper valve may stick which could result in slow fill and frequent fuel filler nozzle shut-off. In some limited cases, a small amount of fuel may spit-back during refueling. These conditions may be intermittent, depending on the variety of fuels used by the customer.

SERVICE ACTION

If the customer reports slow fuel fill, frequent fuel filler nozzle shut-off, or fuel spit-back while refueling, the dealer will install a new fuel pipe flapper valve assembly at no charge to the owner of the vehicle. Since the condition may be intermittent, this service action may be provided in response to customer report only, without demonstrating that the condition exists at time of the service request.

ATTACHMENTS

  1. Attachment I: Administrative Information
  2. Attachment II: Labor Allowances and Parts Ordering Information
  3. Attachment III: Technical Information
  4. Customer Notification Letter

QUESTIONS?

  1. Claims Information:....................................................................1-800-423-8851
  2. Other (Dealer Only) Questions:.....................................................1-800-325-5621

ATTACHMENT I

Owner Notification Program 01M04 

Certain 1998 Contour and Mystique and Certain 1999 Cougar Vehicles

Additional Coverage Program for the Fuel Pipe Flapper Valve Assembly

OASIS

You must use OASIS to determine if a vehicle is eligible for this program.

CLAIMS PREPARATION AND SUBMISSION

  • Enter claims using DWE.
  • Refer to ACESII manual for claims preparation and submission information.

OWNER REFUNDS

Ford Motor Company will only refund owner-paid repairs made before the date of the Owner Letter (or after the date of the Owner Letter if an emergency  repair was made away from the servicing dealer).

  1. Program Code: 01M04
  2. Misc. Expense: REFUND
  3. Misc. Expense: ADMIN
  4. Misc. Expense: 0.2 Hour

Refer to ACESII manual for refund information.

RENTAL CARS

Rental vehicles are not authorized for this program.

ATTACHMENT II

Owner Notification Program 01M04 

Certain 1998 Contour and Mystique and Certain 1999 Cougar Vehicles

Additional Coverage Program for the Fuel Pipe Flapper Valve Assembly

LABOR ALLOWANCES

LABOR ALLOWANCES

Description Labor Operation Labor Time
Replace the Fuel Pipe Flapper Valve 01M04B 1.8 Hours

PARTS REQUIREMENTS

Parts Ordering Information

Parts will not be direct shipped for this program. Order your parts requirement through normal order processing channels as noted below:

  1. Stock Orders - Effective immediately - Normal order process
  2. Interim Orders - Effective immediately - Normal order process
  3. Emergency Orders - First 30 days after launch - Call 1-800-325-5621
  4. Emergency Orders - 31 days after launch - Normal order process

Any change to the order process shown above will be announced via DOES II.

PARTS INFORMATION

Part Number Description Quantity
F8RZ-9U085-AC Fuel Pipe Flapper Valve 1
XS7Z-9072-AA Grommet 1

ORDER INFORMATION DOR/COR

DOR/COR number 50246 identifies parts ordered for this campaign through the Special Service Support Center (1-800-325-5621).

DEALER PRICE

For latest prices, check:

  • DOES II
  • Updated Price Book

EXCESS STOCK RETURN

Excess stock returned for credit must have been purchased from Ford Customer Service Division in accordance with Policy Procedure Bulletin 4000.

ATTACHMENT III

OWNER NOTIFICATION PROGRAM 01M04 

FUEL PIPE FLAPPER VALVE ASSEMBLY REPLACEMENT 

AFFECTED VEHICLES

CERTAIN 1998 CONTOUR, MYSTIQUE AND CERTAIN 1999 COUGAR VEHICLES 

OVERVIEW

This procedure provides the detail to replace the fuel tank filler pipe flapper valve assembly (located at the end of the filler pipe) and the fuel tank filler neck grommet.

REMOVAL

  1. Relieve fuel system pressure. Remove the fuel pump relay from the power distribution box under the hood. Run the engine until it runs out of fuel. Then crank the engine a few more seconds to make sure any residual fuel pressure is relieved. Then turn the key to OFF and reinstall the relay. See Figure 1.
    G08850706
  2. Install memory saver and disconnect the battery negative cable.
  3. NOTE:  The end of the 3/8 in. hose must be trimmed to a point to allow for insertion into the fuel tank.

    Using Rotunda Fuel Tanker 034-00014 or equivalent and a suitable length of 3/8-inch hose, remove the fuel from the fuel tank.

  4. Raise and support the vehicle on a hoist.
  5. Disconnect the fuel line from the fuel filter outlet fitting. See Figure 2.
    G08850707
  6. Position a tall jack stand at the forward end of the muffler and pipe assembly. Remove the muffler inlet pipe flange nuts. Then disengage the hangers and remove the muffler and pipe assembly from the vehicle. See Figure 3.
    G08850708
  7. Remove the exhaust heat shield from the fuel tank area. See Figure 4.
    G08850709
  8. Disconnect the rear sway bar links from the lower suspension arms. Then remove the sway bar brackets and the sway bar from the vehicle. See Figure 5.
    G08850710
  9. Remove the two (2) filler neck bracket retainer bolts.
  10. Using Rotunda Powertrain Lift or equivalent, support the fuel tank.
  11. Remove the fuel tank strap bolts and position the straps out of the way. See Figure 6.
    G08850711
  12. Partially lower the fuel tank.
  13. NOTE:  There are minor differences between non-returnless and returnless fuel systems. A returnless fuel system may have fewer items to disconnect in the fuel tank area than those listed below.

    Disconnect the following from the fuel tank. See Figure 7.

    1. pressure sensor electrical connector.
    2. fuel pump module electrical connector.
    3. fuel line.
    4. vapor tube (2 connections).
    5. fuel vent hoses.
    6. fuel filler pipe.
      G08850712
  14. Remove the fuel tank and set it on a suitable work surface.
  15. Using suitable pliers, remove the flapper valve from the housing by twisting it until the hinge pins shear. See Figure 8. Then remove the valve housing, using a 3/8-inch center punch to carefully punch out the housing retaining tabs through the retaining tab windows. Be sure to remove any remaining plastic debris from the filler pipe.
    G08850713
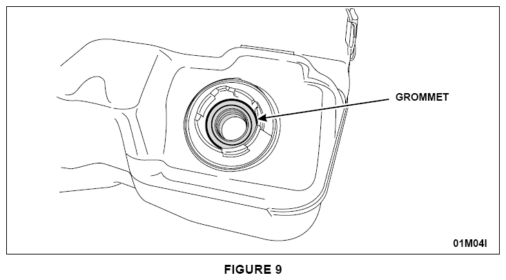
  16. Remove the fuel filler neck grommet from the fuel tank. See Figure 9.
    G08850714

INSTALLATION

  1. Position the new flapper valve on the end of the filler pipe and align the retaining tabs with the windows  in the filler pipe.
  2. Using a light-weight hammer, and with a block of wood placed between the flapper valve and the hammer, gently tap the flapper valve into place. Be sure both flapper valve retaining tabs are seated firmly in the filler pipe windows once the valve is in place. See Figure 10.
    G08850715
  3. Confirm proper flapper valve operation. The valve must open and close under its own weight. If it does not, check for proper flapper valve retaining tab alignment or fuel filler pipe distortion.
  4. Clean any fuel or dirt present in the grommet seating area.
  5. Install a new  grommet, making sure it is fully seated.
  6. NOTE:  Be sure the grommet does not fall into the fuel tank or become dislodged during installation.

    Lightly lubricate the fuel filler pipe and the inside diameter of the grommet with petroleum jelly to help ease filler pipe reinstallation.

  7. Partially raise the tank and connect the following:
    1. fuel filler pipe. Make sure the filler pipe is fully seated into the grommet and that the white locking tabs are in their fully locked position.
    2. fuel vent hoses.
    3. vapor tube (2 connections).
    4. fuel supply line from the fuel pump module.
    5. fuel pump module electrical connector.
    6. pressure sensor electrical connector.
  8. Raise the tank to the installed position and secure the fuel tank straps. Tighten the strap bolts to 35 Nm (26 lb-ft).
  9. Install the two (2) filler neck bracket retainer bolts. Tighten the bolts to 4 Nm (35 lb-in).
  10. Install the sway bar. Tighten the bracket bolts to the crossmember to 23 Nm (17 lb-ft).

    Tighten the link nuts to the lower arms to 35 Nm (26 lb-ft).

  11. Install the exhaust heat shield.
  12. Install the exhaust muffler and pipe assembly. Tighten the muffler inlet pipe flange nuts to 47 Nm (35 lb-ft).
  13. Connect the fuel line to the fuel filter outlet fitting.
  14. Lower the vehicle.
  15. Refill the fuel tank with the removed fuel.
  16. Connect the battery negative cable then remove the memory saver.
  17. Turn the ignition key to ON to pressurize the fuel system and check for leaks.

CUSTOMER NOTIFICATION LETTER

G08850716
G08850717
G08850718