lemon-mirror:
Home >> Ford >> 2000 >> Contour SVT >> Repair and Diagnosis >> External Pages >> Different car >> Section 1230 (Component Testing) >> Component Testing >> Master window/door lock/unlock switch >> Schematic

Master window/door lock/unlock switch: Schematic

WARNING: This page is about a different car, the 2005 Ford RV Cutaway, 2005 Ford Econoline, 2005 Ford E450 Super Duty, and 2005 Ford Cutaway. However, it is still accessible from the selected car via links, so may be relevant.
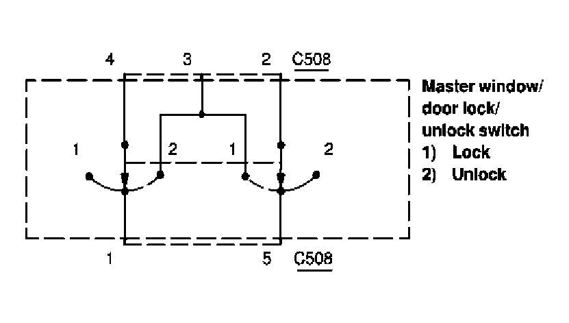
Fig 1: Master Window/Door Lock/Unlock Switch - Schematic
G03993039Courtesy of FORD MOTOR CO.


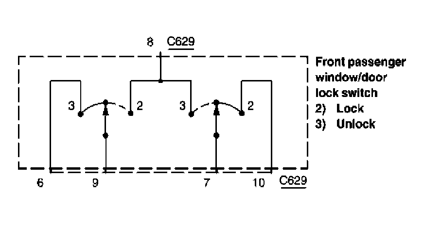
Fig 1: Master Window/Door Lock/Unlock Switch - Schematic
G03993041Courtesy of FORD MOTOR CO.


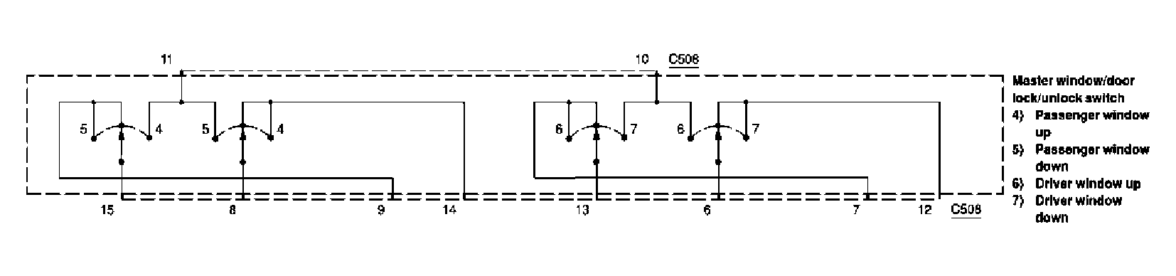
Fig 1: Master Window/Door Lock/Unlock Switch - Schematic
G03993043Courtesy of FORD MOTOR CO.


Fig 1: Master Window/Door Lock/Unlock Switch - Schematic
G03993045Courtesy of FORD MOTOR CO.