lemon-mirror:
Home >> Ford >> 2000 >> Contour SVT >> Repair and Diagnosis >> External Pages >> Different car >> Section 1233 (Component Testing) >> Component testing >> Ignition switch (11572) >> Schematic

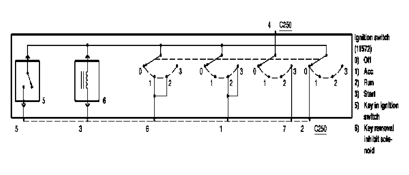
Ignition switch (11572): Schematic

WARNING: This page is about a different car, the 2005 Mercury Montego, 2005 Ford Freestyle, and 2005 Ford Five Hundred. However, it is still accessible from the selected car via links, so may be relevant.
Fig 1: Ignition Switch (11572) - Schematic
G03994269Courtesy of FORD MOTOR CO.