lemon-mirror:
Home >> Ford >> 2000 >> Contour SVT >> Repair and Diagnosis >> External Pages >> Different car >> Section 1233 (Component Testing) >> Component testing >> Multifunction Switch, Wiper/Washer Portion >> Schematic

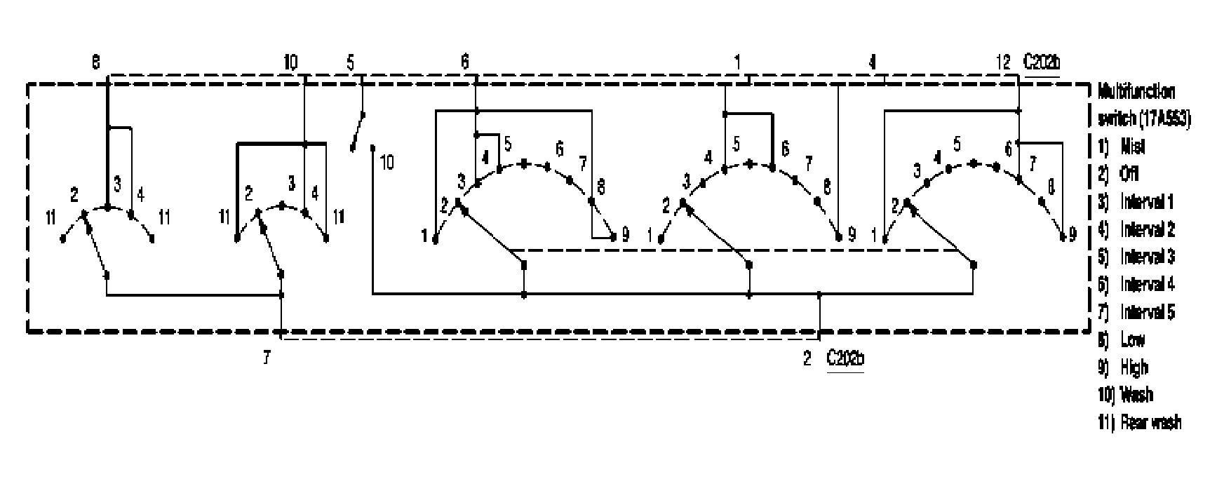
Multifunction Switch, Wiper/Washer Portion: Schematic

WARNING: This page is about a different car, the 2005 Mercury Montego, 2005 Ford Freestyle, and 2005 Ford Five Hundred. However, it is still accessible from the selected car via links, so may be relevant.
Fig 1: Multifunction Switch, Wiper/Washer Portion - Schematic
G03994275Courtesy of FORD MOTOR CO.