lemon-mirror:
Home >> Ford >> 2000 >> Contour SVT >> Repair and Diagnosis >> External Pages >> Different car >> Section 1366 (Engine System) >> In-Vehicle Repair >> Oil Pan >> Installation

Oil Pan: Installation

WARNING: This page is about a different car, the 2006 Mercury Grand Marquis and 2006 Ford Crown Victoria. However, it is still accessible from the selected car via links, so may be relevant.
    CAUTION: Do not use metal scrapers, wire brushes, power abrasive discs or other abrasive means to clean the gasket mating surfaces. These tools cause scratches and gouges, which make leak paths. Use a plastic scraping tool to remove all traces of old sealant.
  1. Clean and inspect the mating surfaces.
  2. NOTE: If the oil pan is not secured within 4 minutes, the sealant must be removed and the sealing area cleaned with metal surface cleaner. Allow to dry until there is no sign of wetness, or 4 minutes, whichever is longer. Failure to follow this procedure can result in future oil leakage.
    Fig 1: Area For Applying Bead Of Silicone Gasket And Sealant
    G04583522Courtesy of FORD MOTOR CO.
  3. Apply silicone gasket and sealant at the rear seal retainer-to-cylinder block sealing surface.
  4. NOTE: If the oil pan is not secured within 4 minutes, the sealant must be removed and the sealing area cleaned with metal surface cleaner. Allow to dry until there is no sign of wetness, or 4 minutes, whichever is longer. Failure to follow this procedure can result in future oil leakage.
    Fig 2: Applying Silicone Gasket And Sealant At Engine Front Cover-To-Cylinder Block Mating Surface
    G04583523Courtesy of FORD MOTOR CO.
  5. Apply silicone gasket and sealant at the engine front cover-to-cylinder block mating surface.
  6. Position the oil pan gasket and the oil pan.
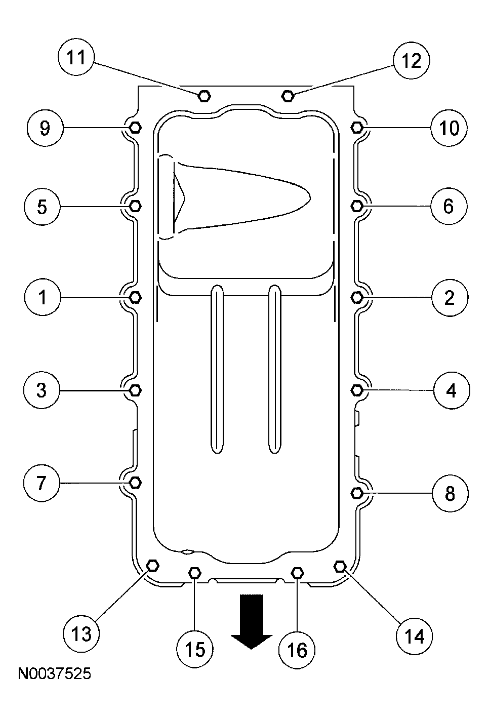
  7. Tighten the bolts in 2 stages, in the sequence shown.
    • Stage 1: Tighten to 20 Nm (15 lb-ft).
    • Stage 2: Rotate an additional 60 degrees.
      Fig 3: Identifying Tightening Sequence Of Oil Pan Bolts
      G04583524Courtesy of FORD MOTOR CO.
  8. Attach the 2 pin-type wire harness retainers.
  9. Position the transmission cooler tubes and install the bolt and the nut.
    1. Tighten the bolt to 15 Nm (11 lb-ft).
    2. Tighten the nut to 9 Nm (80 lb-in).
      Fig 4: Positioning Transmission Cooler Tubes
      G04583525Courtesy of FORD MOTOR CO.
  10. Install the front crossmember. For additional information, refer to FULL FRAME AND BODY MOUNTING .
  11. Fill the engine with clean engine oil.
  12. Start the engine and check for leaks.
  13. WARNING: If equipped with fire suppression system, repower the system. For important safety warnings and procedures, refer to FIRE SUPPRESSION SYSTEM .
  14. If equipped with fire suppression system, repower the system.