lemon-mirror:
Home >> Ford >> 2000 >> Contour SVT >> Repair and Diagnosis >> External Pages >> Different car >> Section 1366 (Engine System) >> Removal >> Engine

Section 1366 (Engine System): Removal: Engine

WARNING: This page is about a different car, the 2006 Mercury Grand Marquis and 2006 Ford Crown Victoria. However, it is still accessible from the selected car via links, so may be relevant.
SPECIAL TOOL(S) DESCRIPTION

G04583647
Lifting Bracket Set, Engine
303-DS086 (D93P-6001-A)
G04583648
Socket, Exhaust Gas Oxygen Sensor
303-476 (T94P-9472-A)
    WARNING: If equipped with fire suppression system, depower the system. For important safety warnings and procedures, refer to FIRE SUPPRESSION SYSTEM .
  1. With the vehicle in NEUTRAL, position it on a hoist. For additional information refer to JACKING & LIFTING .
  2. Remove the hood.
  3. Disconnect both battery cables. For additional information, refer to BATTERY, MOUNTING AND CABLES .
  4. Remove the air cleaner and outlet pipe. For additional information, refer to INTAKE AIR DISTRIBUTION & FILTERING .
  5. Remove the wiper mounting arm and pivot shaft. For additional information, refer to WIPERS AND WASHERS .
  6. Remove the 2 nuts and the support bracket.
    Fig 1: Removing Support Bracket
    G04583649Courtesy of FORD MOTOR CO.
  7. Remove the accessory drive belt. For additional information, refer to ACCESSORY DRIVE .
  8. Drain the engine cooling system. For additional information, refer to ENGINE COOLING .
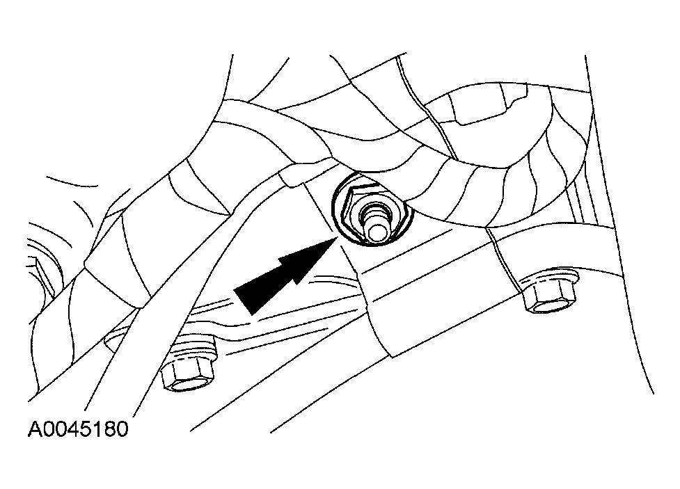
  9. Disconnect the vacuum hose.
    Fig 2: Disconnecting Vacuum Hose
    G04583650Courtesy of FORD MOTOR CO.
  10. Disconnect the evaporative emission (EVAP) canister purge valve.
    • Disconnect the 2 quick release EVAP hoses.
    • Disconnect the electrical connector.
      Fig 3: Disconnecting Quick Release EVAP Hoses
      G04583651Courtesy of FORD MOTOR CO.
  11. Disconnect the fuel tube spring lock coupling. For additional information, refer to FUEL SYSTEM-GENERAL INFORMATION .
  12. Detach the generator battery cable retainer from the RH valve cover stud bolt.
    Fig 4: Detaching Generator Battery Cable Retainer
    G04583652Courtesy of FORD MOTOR CO.
  13. Remove the nut and disconnect the generator battery cable.
    • Detach the generator battery cable pin-type retainer.
      Fig 5: Detaching Generator Battery Cable Pin-Type Retainer
      G04583653Courtesy of FORD MOTOR CO.
  14. Disconnect the powertrain control module (PCM) electrical connectors.
    Fig 6: Disconnecting Powertrain Control Module (PCM) Electrical Connectors
    G04583654Courtesy of FORD MOTOR CO.
  15. Disconnect the ground wire.
    Fig 7: Disconnecting Ground Wire
    G04583655Courtesy of FORD MOTOR CO.
  16. Disconnect the A/C electrical connector.
    Fig 8: Disconnecting A/C Electrical Connector
    G04583656Courtesy of FORD MOTOR CO.
  17. Disconnect the A/C low charge protection switch electrical connector.
    Fig 9: Disconnecting A/C Low Charge Protection Switch Electrical Connector
    G04583657Courtesy of FORD MOTOR CO.
  18. Disconnect the heater hoses.
    Fig 10: Disconnecting Heater Hoses
    G04583658Courtesy of FORD MOTOR CO.
  19. Remove the ground strap.
    Fig 11: Removing Ground Strap
    G04583659Courtesy of FORD MOTOR CO.
  20. Disconnect the upper radiator hose from the hose connection. Secure the hose to the radiator assembly.
    Fig 12: Disconnecting Upper Radiator Hose From Hose Connection
    G04583660Courtesy of FORD MOTOR CO.
  21. Disconnect the lower radiator hose from the oil filter adapter.
    Fig 13: Disconnecting Lower Radiator Hose From Oil Filter Adapter
    G04583661Courtesy of FORD MOTOR CO.
  22. Remove the cooling fan. For additional information, refer to ENGINE COOLING .
  23. Drain the engine oil.
    • Install the drain plug when finished.
    • To install, tighten to 13 Nm (10 lb-ft).
      Fig 14: Locating Drain Plug
      G03885548Courtesy of FORD MOTOR CO.
  24. If equipped, disconnect the block heater electrical connector.
  25. Disconnect the power steering electrical connector.
    Fig 15: Disconnecting Power Steering Electrical Connector
    G04583663Courtesy of FORD MOTOR CO.
  26. Disconnect the oil pressure sender electrical connector.
    Fig 16: Disconnecting Oil Pressure Sender Electrical Connector
    G04583664Courtesy of FORD MOTOR CO.
  27. Disconnect the power steering pressure (PSP) switch electrical connector.
    Fig 17: Disconnecting Power Steering Pressure (PSP) Switch Electrical Connector
    G04583665Courtesy of FORD MOTOR CO.
  28. CAUTION: The oil cooler must be replaced or severe damage to the engine can occur.
  29. If equipped, remove and discard the oil cooler. For additional information, refer to OIL COOLER .
  30. Remove the nut and the transmission cooler tube support bracket.
    Fig 18: Removing Transmission Cooler Tube Support Bracket
    G04583666Courtesy of FORD MOTOR CO.
  31. Remove the bolt.
    Fig 19: Removing Bolt
    G04583667Courtesy of FORD MOTOR CO.
  32. Disconnect the crankshaft position (CKP) sensor electrical connector.
  33. Position the power steering tube bracket aside.
    Fig 20: Removing Power Steering Tube Bracket
    G04583668Courtesy of FORD MOTOR CO.
  34. Disconnect the engine wiring harness retainers from the A/C compressor.
    Fig 21: Disconnecting Engine Wiring Harness Retainers From A/C Compressor
    G04583669Courtesy of FORD MOTOR CO.
  35. Disconnect the A/C compressor electrical connector.
    Fig 22: Disconnecting A/C Compressor Electrical Connector
    G04583670Courtesy of FORD MOTOR CO.
  36. Remove the 3 bolts and position the A/C compressor aside.
    Fig 23: Positioning A/C Compressor Aside
    G04583671Courtesy of FORD MOTOR CO.
  37. Remove the 4 bolts and position the power steering pump aside.
    Fig 24: Positioning Power Steering Pump Aside
    G04583672Courtesy of FORD MOTOR CO.
  38. Remove the starter motor.
    • Remove the starter motor solenoid cover.
    • Disconnect the electrical connections.
    • Remove the bolts.
    • Remove the starter motor.
      Fig 25: Removing Starter Motor
      G04583673Courtesy of FORD MOTOR CO.
  39. Disconnect the RH heated oxygen sensor (HO2S) electrical connectors.
  40. Disconnect the LH HO2S electrical connector.
    Fig 26: Disconnecting LH HO2S Electrical Connector
    G04583674Courtesy of FORD MOTOR CO.
  41. Using the special tool, remove the LH HO2S.
    Fig 27: Removing LH HO2S
    G04583675Courtesy of FORD MOTOR CO.
  42. Support the exhaust and remove the 4 nuts.
    Fig 28: Removing Nuts
    G04583676Courtesy of FORD MOTOR CO.
  43. NOTE: LH shown, RH similar.
    Fig 29: Removing Engine Mount Nuts
    G04583677Courtesy of FORD MOTOR CO.
  44. Remove the 2 engine mount nuts.
  45. Install a suitable lifting device under the transmission and support.
  46. Remove the rear transmission insulator nuts.
    Fig 30: Removing Rear Transmission Insulator Nuts
    G04583678Courtesy of FORD MOTOR CO.
  47. Raise the transmission and remove the rear transmission insulator bolts.
    Fig 31: Removing Rear Transmission Insulator Bolts
    G04583679Courtesy of FORD MOTOR CO.
  48. Remove the transmission rear insulator and lower the transmission down to rest on the rear crossmember.
  49. Disconnect the HO2S sensor and the solenoid body sensor electrical connectors.
    Fig 32: Disconnecting HO2S Sensor And Solenoid Body Sensor Electrical Connectors
    G04583680Courtesy of FORD MOTOR CO.
  50. Disconnect the output shaft speed sensor, transmission range sensor and the turbine shaft speed sensor electrical connectors.
    Fig 33: Disconnecting Output Shaft Speed Sensor
    G04583681Courtesy of FORD MOTOR CO.
  51. Release the wiring harness from the retainers on the transmission.
  52. Remove the 3 bolts and the inspection cover.
    Fig 34: Removing Inspection Cover
    G04583682Courtesy of FORD MOTOR CO.
  53. Remove the torque converter nut access plug.
    • Remove the 4 nuts.
      Fig 35: Removing Torque Converter Nut Access Plug
      G04583683Courtesy of FORD MOTOR CO.
  54. Remove the 4 bolts and 1 stud.
    Fig 36: Removing Bolts And Stud
    G04583684Courtesy of FORD MOTOR CO.
  55. Remove the engine support insulator nuts.
  56. Install the special tool to the RH cylinder head.
    Fig 37: Installing Special Tool To RH Cylinder Head
    G04583685Courtesy of FORD MOTOR CO.
  57. Install the special tool to the LH cylinder head.
    Fig 38: Installing Special Tool To LH Cylinder Head
    G04583686Courtesy of FORD MOTOR CO.
  58. Install the special tools.
    Fig 39: Installing Special Tools
    G04583687Courtesy of FORD MOTOR CO.
  59. Remove the 2 bolts.
    Fig 40: Removing Bolts
    G04583688Courtesy of FORD MOTOR CO.
  60. Remove the engine assembly from the vehicle.
    Fig 41: Removing Engine Assembly From Vehicle
    G04583689Courtesy of FORD MOTOR CO.