lemon-mirror:
Home >> Ford >> 2000 >> Contour SVT >> Repair and Diagnosis >> External Pages >> Different car >> Section 1422 (Component Testing) >> Component Testing >> Main light switch (11654) >> Schematic

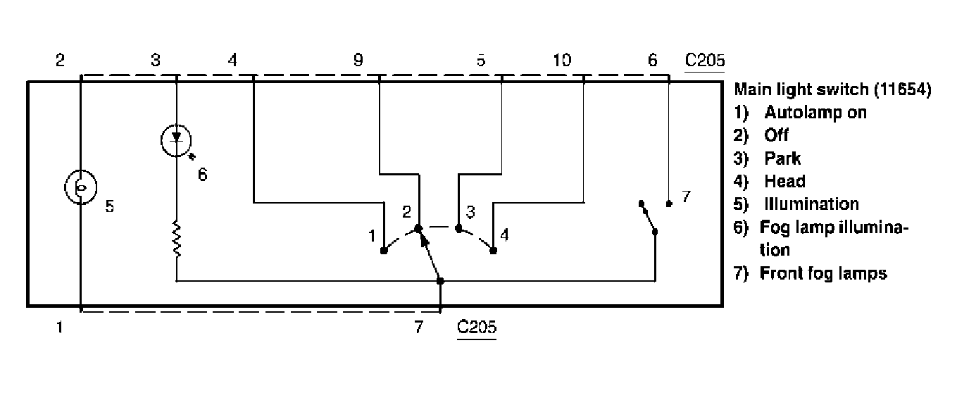
Main light switch (11654): Schematic

WARNING: This page is about a different car, the 2006 Mercury Montego, 2006 Ford Freestyle, and 2006 Ford Five Hundred. However, it is still accessible from the selected car via links, so may be relevant.
Fig 1: Main Light Switch - Schematic Diagram
G04597574Courtesy of FORD MOTOR CO.