lemon-mirror:
Home >> Ford >> 2000 >> Contour SVT >> Repair and Diagnosis >> External Pages >> Different car >> Section 1422 (Component Testing) >> Component Testing >> Multifunction Switch, Wiper/Washer Portion >> Schematic

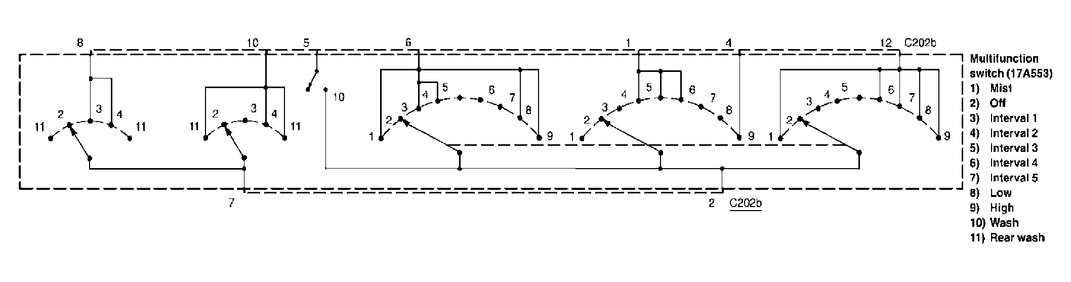
Multifunction Switch, Wiper/Washer Portion: Schematic

WARNING: This page is about a different car, the 2006 Mercury Montego, 2006 Ford Freestyle, and 2006 Ford Five Hundred. However, it is still accessible from the selected car via links, so may be relevant.
Fig 1: Multifunction Switch, Wiper/Washer Portion - Schematic Diagram
G04597578Courtesy of FORD MOTOR CO.