lemon-mirror:
Home >> Ford >> 2000 >> ZX2 Automatic >> Repair and Diagnosis >> External Pages >> Different car >> Section 239 (Component Testing) >> Component Testing >> Ignition switch (11572) >> Schematic

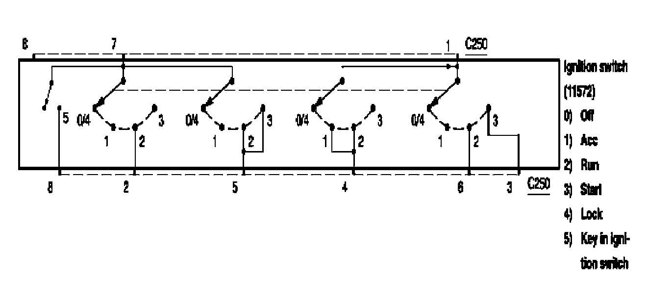
Ignition switch (11572): Schematic

WARNING: This page is about a different car, the 2005 Lincoln LS. However, it is still accessible from the selected car via links, so may be relevant.
Fig 1: Ignition Switch (11572) - Schematic
G03987650Courtesy of FORD MOTOR CO.